EasyManua.ls Logo

Imit Duo Plus - Page 11

Imit Duo Plus
23 pages
Print Icon
To Next Page IconTo Next Page
To Next Page IconTo Next Page
To Previous Page IconTo Previous Page
To Previous Page IconTo Previous Page
Loading...
11
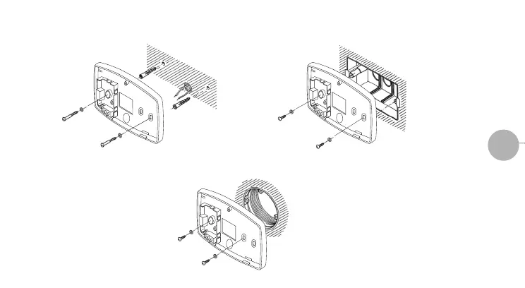
... then fix it to the wall according to the installation require-
ments, as shown in the figures.
Mounting on round box.Distance
between center lines of 60 mm.
Mounting on three module buit-in std box.
Distance between center lines of 83,5 mm.
Wall mounting
LIBR. DUO PLUS INGLESE standard 24-01-2000 14:46 Pagina 12

Related product manuals