EasyManua.ls Logo

Immergas EOLO Superior PLUS 24 - Page 10

Immergas EOLO Superior PLUS 24
27 pages
Print Icon
To Next Page IconTo Next Page
To Next Page IconTo Next Page
To Previous Page IconTo Previous Page
To Previous Page IconTo Previous Page
Loading...
Technical documentation Technical documentation
STESP ed 02/02
1010
EOLO SUPERIOR PLUS
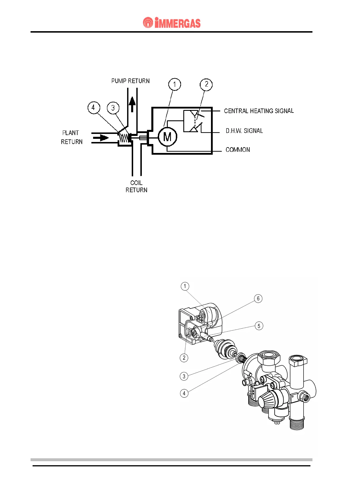
- MOTORISED 3-WAY VALVE
This is a 3-way electric valve operating on the return pipe of the primary circuit that permits,
according to the type of request (d.h.w. or central heating), running boiler water into the central
heating system or into the storage tank coil.
This depends on the position of the shutter (3) which impedes transit towards the system and at the
same time permits this towards the storage tank (d.h.w. position) or vice versa (central- heating
position).
Movement of the shutter (3) in both positions is achieved by energising the motor (1).
Operation
When the central heating or d.h.w. position has
to be achieved, the motor (1) is operated by the
modulation board.
Operation of the motor, whose number of revs
is reduced by a special system of gears,
involves rotation of a disc (6) fastened
eccentrically on the shaft of the motor.
Movement of this disc causes the movement of
a special coupling (5) which, at each 180°
rotation, compresses (d.h.w. position) or
releases (heating position) the contrast spring
of the shutter (4).
Hydraulic achievement of the required position
causes, alternately, the opening of a limit
switch (2) and the closing of the other.
This permits de-energising the motor and
locking this in the achieved position, and
enabling motor operation only when a different
request is made (d.h.w. or central- heating
signal).

Related product manuals