EasyManua.ls Logo

Immergas EOLO Superior PLUS 24 - Hydraulic Circuit; Primary Circuit

Immergas EOLO Superior PLUS 24
27 pages
Print Icon
To Next Page IconTo Next Page
To Next Page IconTo Next Page
To Previous Page IconTo Previous Page
To Previous Page IconTo Previous Page
Loading...
Technical documentation Technical documentation
STESP ed 02/02
5
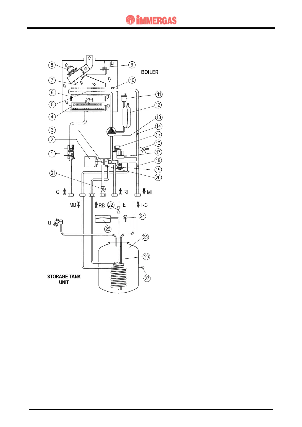
EOLO SUPERIOR PLUS
HYDRAULIC CIRCUIT
1 - Gas valve
2 - 3-way valve gearmotor
3 – Electric 3-way valve
4 - Burner
5 - Primary exchanger
6 - Sealed chamber
7 - Draught diverter
8 - Fan fan
9 - Flue safety pressure switch
10- NTC limit and adjust. sensor
11- Air vent valve
12- Expansion vessel
13- Circulator
14- Overheat. safety thermostat
15- Pump pressure switch
16- 3-bar safety valve
17- Pump pressure meter
18- One way valve
19- Adjustable bypass
20- System drain valve
21- System filling valve
22- D.h.w. inlet cock.
23- D.h.w. expansion vessel
24- 8-bar safety valve
25- Storage tank
26- Anode
27- D.h.w. NTC sensor
28- Storage tank coil
RI - System return
MI - System flow
RB - Storage tank return
MB - Storage tank flow
G - Gas supply
U - Hot d.h.w. outlet
E - Cold d.h.w. inlet
RC - Re-circulation (optional)
PRIMARY CIRCUIT (BOILER CIRCUIT)
The primary circuit, with relevant control and safety devices, operates every time there is a central
heating or d.h.w. request.
- OPERATION
The heat contained in the combustion products is absorbed by the copper blades of the water-gas
exchanger (5), which in turn transfers this to the water circulating inside by means of the boiler pump
(13).
When the boiler is working for water heating only, the water flows directly into the system, while it can
be deviated inside the storage tank coil (28) if combined with a PLUS unit.
This depends on the position of the 3-way electric valve (3) which, depending on the type of request,
allows the water to flow through the delivery pipe (M) and return pipe (R) system or causes its deviation
towards the storage tank coil (28).

Related product manuals