EasyManua.ls Logo

Infinity Interlude Series - Il50 Adjust Bias Procedure

Infinity Interlude Series
47 pages
Print Icon
To Next Page IconTo Next Page
To Next Page IconTo Next Page
To Previous Page IconTo Previous Page
To Previous Page IconTo Previous Page
Loading...
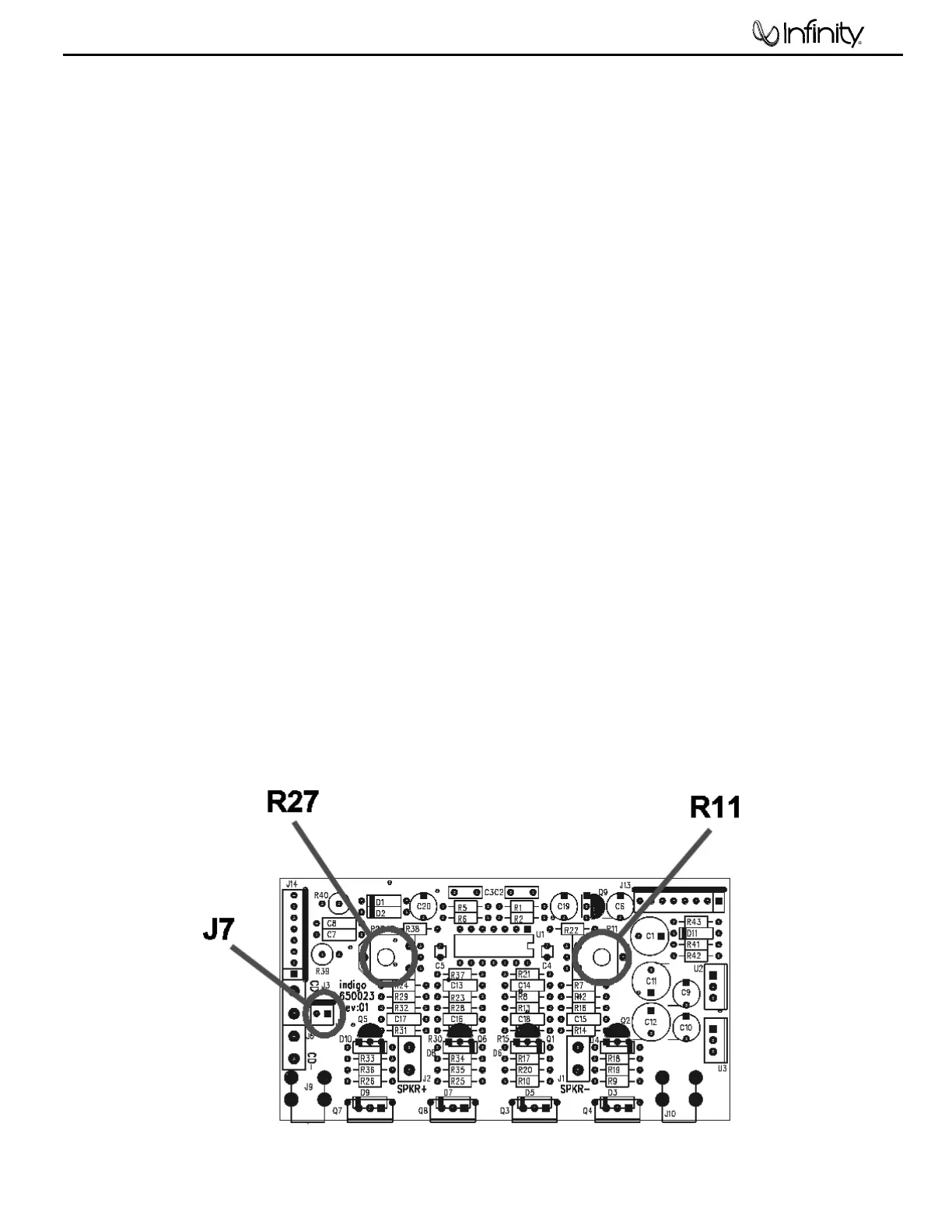
IL50 ADJUST BIAS PROCEDURE
(Mandatory when any output MOSFET transistors Q3,4,7,8 are replaced)
1. Amplifier should be unplugged and OFF.
2. Remove Amp assembly from cabinet; remove rear plastic cover if present. All wires exiting
the cover can remain connected unless they will prevent you from removing the amplifier or
accessing potentiometers on the Linear board PCB in the following steps.
3. Locate the Linear board assembly (PCB with the output transistors)
4. Adjust R11 and R27 fully Counter Clockwise. See diagram below.
5. Apply 120 VAC power to unit, Turn power switch ON.
6. Verify LED illuminates on the front gain control dial unless you have disconnected the plug.
7. Remove shorting plug on terminal J7 on Linear board, and insert current meter, set to the
low mA range.
8. Verify initial current is less then 1 mA.
9. Adjust R11 Clockwise until current meter reads 5 mA + the initial current from step #8.
10. Adjust R27 Clockwise until current meter now reads 10 mA + the initial current from step #8.
11. Turn amplifier OFF. Disconnect AC power to unit.
12. Remove current meter; insert shorting plug back in terminal J7.
13. Replace cover (if present), wires if disconnected, and replace amplifier back into cabinet.
IL50
26

Related product manuals