EasyManua.ls Logo

Intergas Xclusive 30 - Domestic Hot Water Menu

Intergas Xclusive 30
92 pages
Print Icon
To Next Page IconTo Next Page
To Next Page IconTo Next Page
To Previous Page IconTo Previous Page
To Previous Page IconTo Previous Page
Loading...
53
9.1.2 Domestic hot water menu
Confirm
Main menu
Domestic hot
water menu
Tap comfort
The domestic hot water menu has 2 settings and is accessible
by gently tapping on the Domestic Hot Water symbol from
the main menu.
Within the domestic hot water menu:
The domestic hot water temperature can be adjusted
The DHW comfort function can be altered
The following symbols will illuminate:
The Minus symbol
The Plus symbol
The Enter symbol
The Central Heating symbol will be extinguished.
The le section will illuminate and will display the current
preset domestic hot water temperature. By tapping on the
domestic hot water symbol once you enter the temperature
adjustment menu, by tapping on the DHW symbol again,
you enter the comfort setting menu.
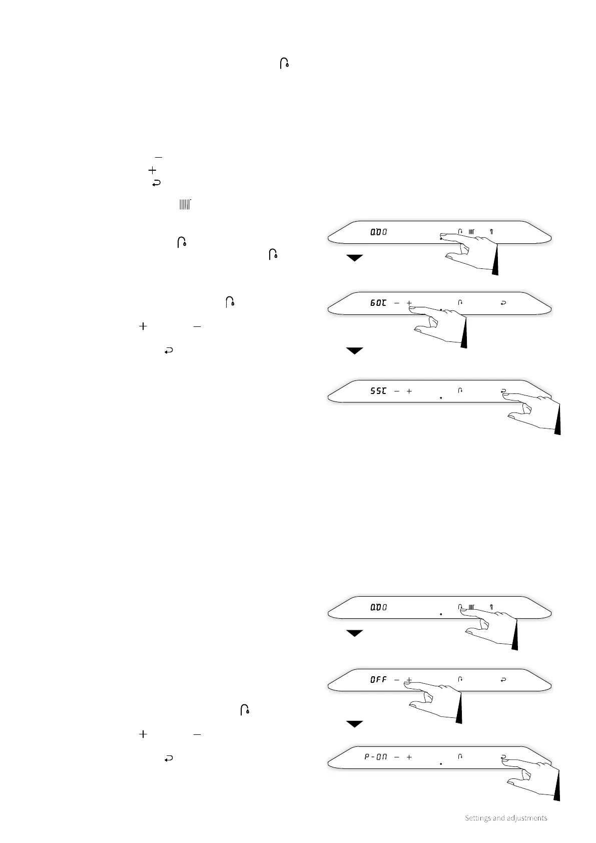
To adjust the domestic hot water temperature setting:
1. Tap the Domestic Hot Water symbol
. The target
temperature is displayed on the le side of the fascia.
2. Using the Plus and Minus buttons, set the desired
temperature (for example, 55°C).
3. Tap the Enter button
to confirm (or wait 30 seconds).
A
PP appears on the right display (all other symbols are
extinguished), which means the setting has been stored.
4. The display returns to the main menu.
Main menu
Confirm
Domestic hot
water Temperature
adjustment
For a swier supply of domestic hot water, the boiler has a
DHW comfort function with the following options:
P-On:
The DHW comfort function is activated within the chosen
time settings. The heat exchanger will then maintain the
preset temperature during these times.
On:
The DHW comfort function is permanently on. The
heat exchanger will continuously maintain the preset
temperature.
Eco:
The DHW comfort function of the boiler will self learn.
The boiler will adapt itself to the pattern of usage for
domestic hot water. This means that the heat exchanger
will not maintain temperature during the night or with long
absences.
O:
The heat exchanger is not preheated, the boiler will now
act as a normal combination boiler and only operate when
there is a demand for DHW.
NOTE: during the winter when the heating is operating the
heat exchanger will already be at a suicient temperature to
facilitate swi DHW supply.
To adjust the DHW comfort function:
1. Tap the Domestic Hot Water symbols 2x
. The preset
comfort setting is displayed on the le of the fascia.
2. Using the Plus and Minus buttons, set the desired
comfort setting (for example, P-On).
3. Tap the Enter button
to confirm (or wait 30 seconds).
A PP appears on the right display (all other symbols are
extinguished), this confirms the chosen setting has been
stored.
4. The display returns to the main menu.

Table of Contents