EasyManua.ls Logo

Iso-Tech ILCM 06 - Page 39

Iso-Tech ILCM 06
80 pages
Print Icon
To Next Page IconTo Next Page
To Next Page IconTo Next Page
To Previous Page IconTo Previous Page
To Previous Page IconTo Previous Page
Loading...
38
ILCM 06 Deutsch


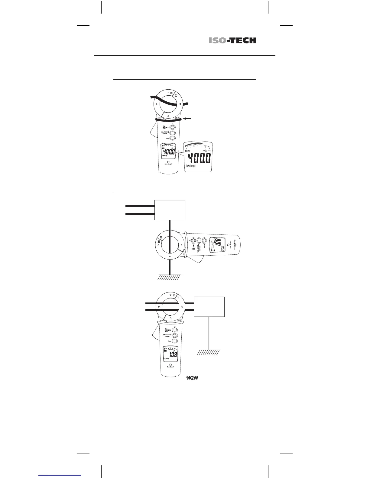
Load
CAT.III
300V
Load
Last
Last
KAT. III 300 V
gegenüber Erdung für
die Backe.
Griffschutzkragen für
Handleiste
Nicht über den
Griffschutzkragen
hinausfassen

Related product manuals