EasyManua.ls Logo

Iso-Tech ILCM 06 - Leakage Current Measurement

Iso-Tech ILCM 06
80 pages
Print Icon
To Next Page IconTo Next Page
To Next Page IconTo Next Page
To Previous Page IconTo Previous Page
To Previous Page IconTo Previous Page
Loading...
6
ILCM 06 English


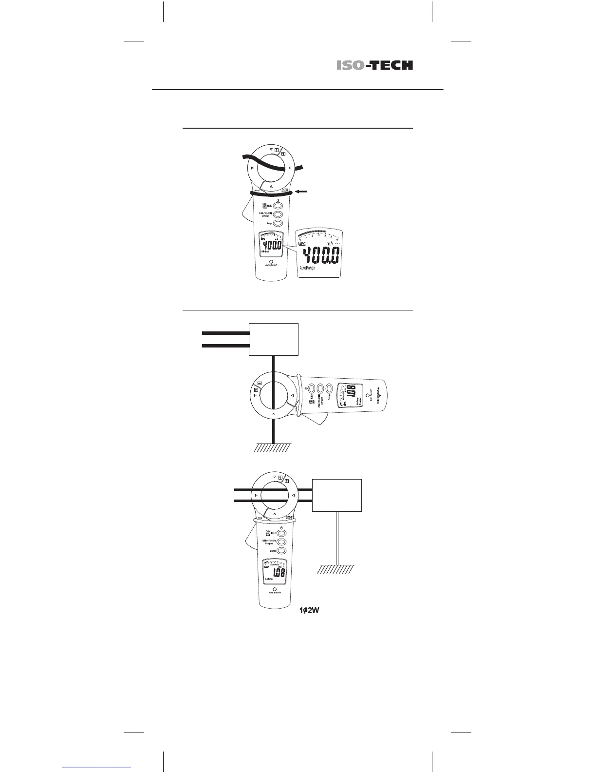
Load
CAT.III
300V
Load
CAT.III 300V
with respect to earth
for the jaw.
Barrier for
Hand Guard
Do not hold the
instrument above the
barrier

Related product manuals