EasyManua.ls Logo

Iso-Tech ILCM 06 - Medición de Corriente de Fuga

Iso-Tech ILCM 06
80 pages
Print Icon
To Next Page IconTo Next Page
To Next Page IconTo Next Page
To Previous Page IconTo Previous Page
To Previous Page IconTo Previous Page
Loading...
70
ILCM 06 Español


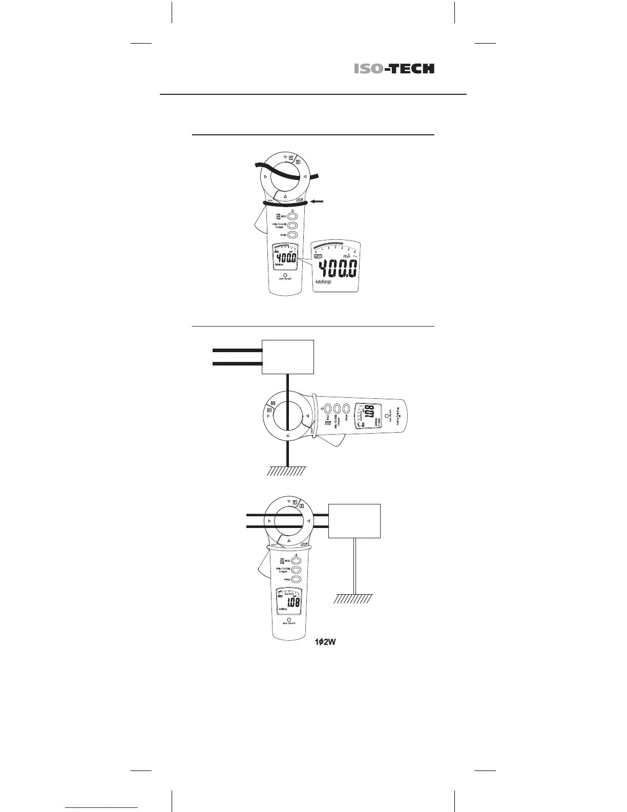
Load
CAT.III
300V
Load
Carga
Carga
CAT.III 300V
respecto a tierra para
la mordaza.
Barrera para
protección de manos
No sujetar el instru-
mento por encima de
la barrera

Related product manuals