EasyManua.ls Logo

Iso-Tech ILCM 06 - Page 55

Iso-Tech ILCM 06
80 pages
Print Icon
To Next Page IconTo Next Page
To Next Page IconTo Next Page
To Previous Page IconTo Previous Page
To Previous Page IconTo Previous Page
Loading...
54
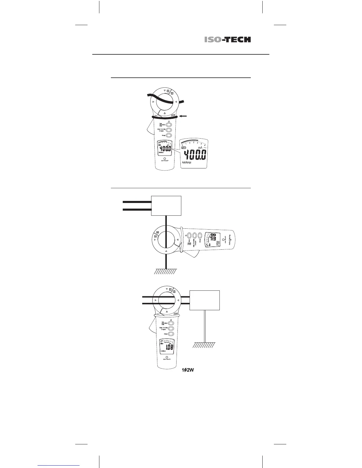
ILCM 06 Italiano


Load
CAT.III
300V
Load
Carico
Carico
CAT.III 300V
rispetto alla messa a
terra della pinza.
Barriera per
la protezione delle
mani.
Non impugnare lo
strumento al di sopra
della barriera

Related product manuals