EasyManua.ls Logo

Janome 1200D - Timing of Lower Looper

Janome 1200D
91 pages
To Next Page IconTo Next Page
To Next Page IconTo Next Page
To Previous Page IconTo Previous Page
To Previous Page IconTo Previous Page
Loading...
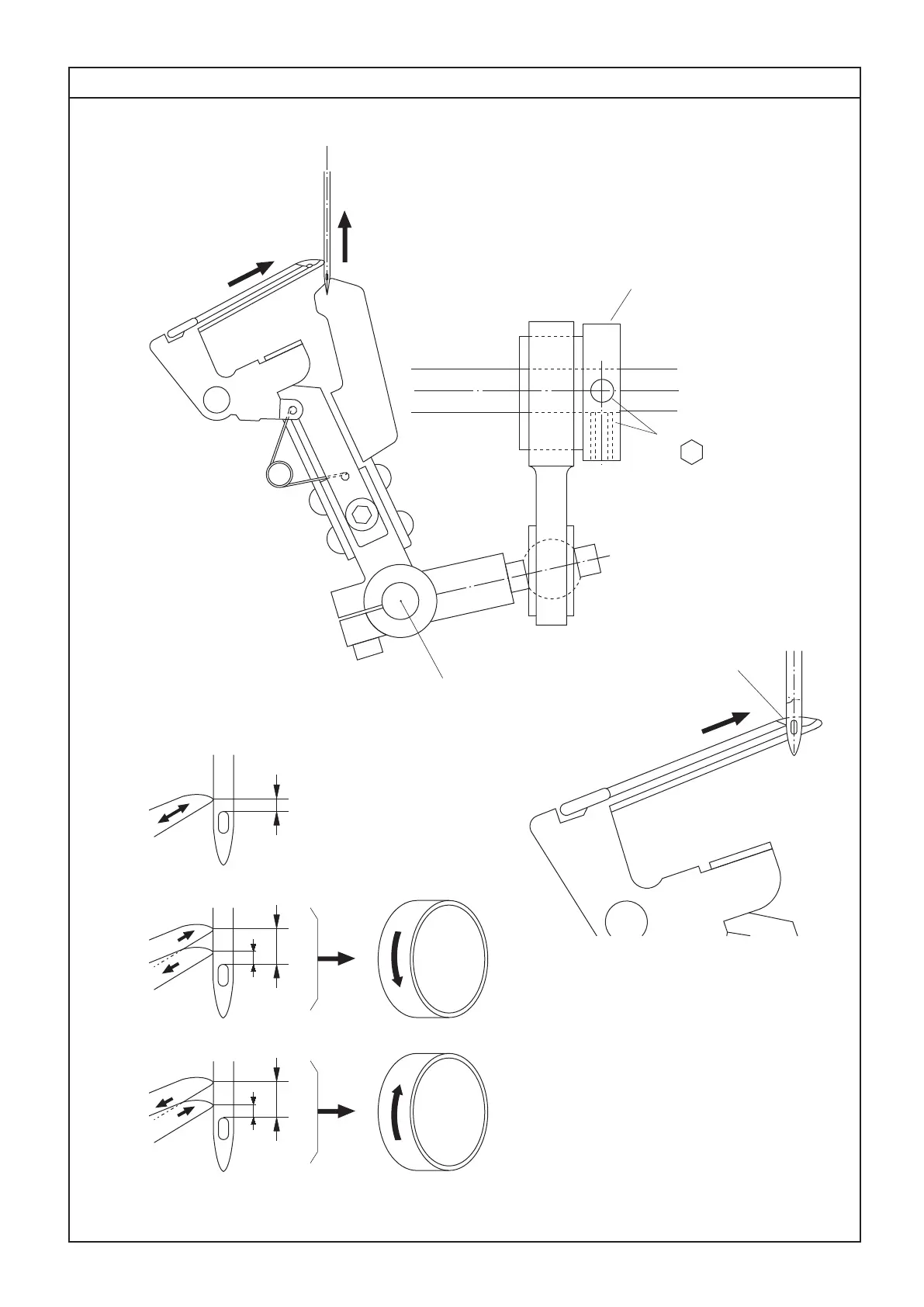
TIMING OF LOWER LOOPER 8a
A
B
C
+
-
+
-
=
D
b
a
5
2mm
R1
Fig.1
Fig.2
Fig.3
23

Other manuals for Janome 1200D

Related product manuals