EasyManua.ls Logo

JBL LSR4312SP - Page 49

JBL LSR4312SP
61 pages
Print Icon
To Next Page IconTo Next Page
To Next Page IconTo Next Page
To Previous Page IconTo Previous Page
To Previous Page IconTo Previous Page
Loading...
43
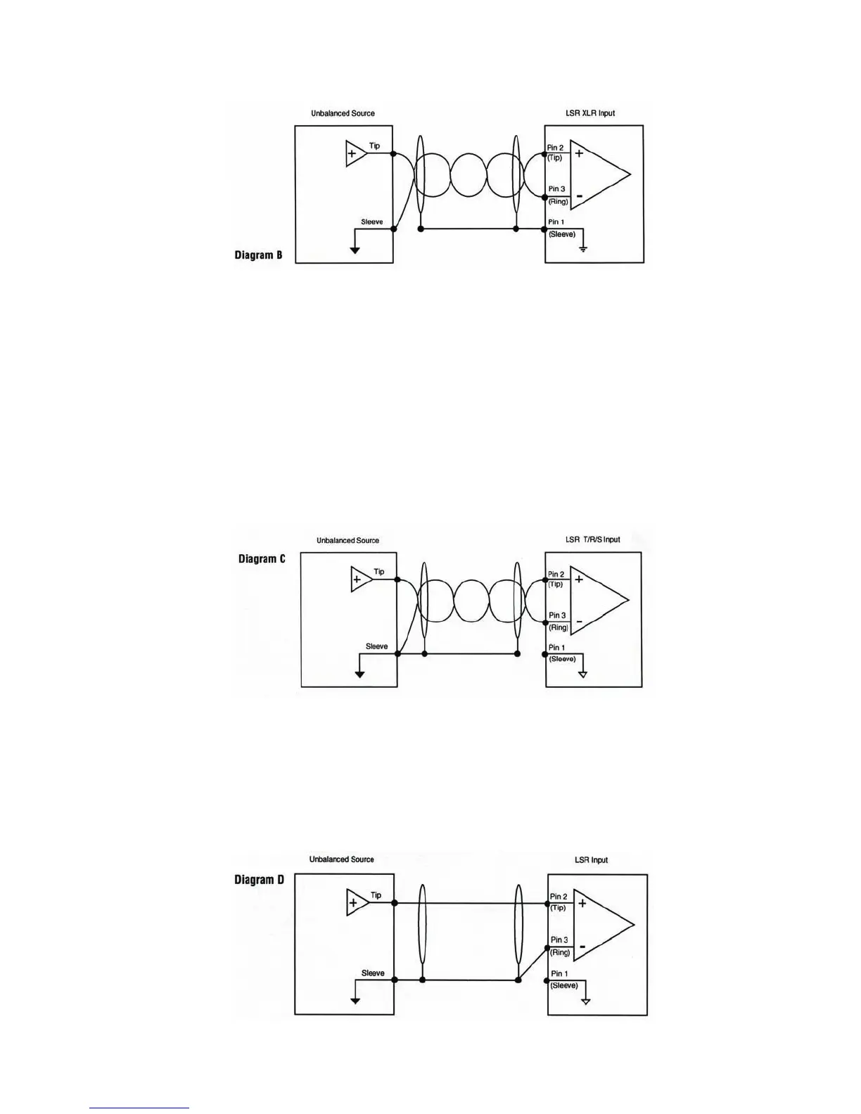
While there are only HOT and GROUND/SHIELD connections from unbalanced sources, it is
recommended that high quality twisted pair cable be used. Diagram B shows an unbalanced source
connected to the balanced XLR input of the LSR subwoofer using twisted pair cable. Note that the shield
is connected to the GROUND/SHIELD connector at the LSR input, but not at the source. This reduces the
likelihood of introducing a ground loop into the system.
When using unbalanced signals with an LSR4312SP, we recommend using 1/4” Tip/Ring/Sleeve
connections. As shown in Diagram C, when using the 1/4” Tip/Ring/Sleeve or XLR connection,
the GROUND should be tied to the source -- not the sleeve -- of the subwoofer input for optimum
performance.
Diagram D details the connections using single conductor shielded cable with a Tip/Ring/Sleeve or XLR
plug for the LSR4312SP input. Single conductor cable should be used as a last resort as it provides the
greatest likelihood of problems. The “HOT” (+) signal should be connected to the tip of the Tip/Ring/
Sleeve plug. The GROUND should be attached to the Ring of the Tip/Ring/Sleeve plug at the LSR4312SP
input.
Appendix E: Wiring Requirements

Related product manuals