EasyManua.ls Logo

Jet OES-80CS - Ponçage Vertical; Réglage du Circuit de Bande; Réglages

Default Icon
26 pages
Print Icon
To Next Page IconTo Next Page
To Next Page IconTo Next Page
To Previous Page IconTo Previous Page
To Previous Page IconTo Previous Page
Loading...
Fig 7
6.2 Ponçage vertical
Monter le support de ponçage (E, Fig 8) en position verticale.
Au besoin, retirer la table latérale et refermer le carter du
rouleau.
Monter le plot de repos (C).
Fig 8
L’angle de ponçage peut être choisi librement. La butée de
fin de course réglable est prévue pour la position à 9.
Il est possible d’utiliser le guide d’onglet (D).
La table auxiliaire est réglable en hauteur (voir chapitre 7.5).
Conseil professionnel : En positionnant la table auxiliaire
rement en biais, on obtient une meilleure finition de
travail par oscillations si la pièce est mee dans le sens du
ponçage.
6.3 Ponçage des surfaces concaves
Retirer le carter (A, Fig 9) et fixer avec les 2 vis moletées (D).
Fig 9
Monter la table auxiliaire (B) en position de travail avec la vis
moletée (C).
Après l’usage retirer la table latérale auxiliaire et replacer le
carter.
7.glages
ATTENTION:
Faire tous les travaux de maintenance ou de réglage après
avoir débranché la machine du réseau.
Contrôler le circuit et le mouvement intact de la bande
abrasive après chaque travail de maintenance ou deglage.
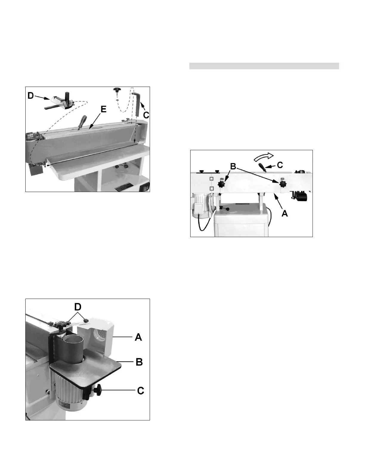
7.1 Changer la bande abrasive
connecter la machine duseau.
Monter le support de ponçage dans la position verticale.
Fig 10
Desserrer les vis moletées (B, Fig 10) et retirer le carter de la
bande (A).
Relâcher la tension de la bande en poussant la manette (C).
Retirer avec précaution la bande usée.
Placer la nouvelle bande, s’assurer que le sens de la flèche
sur la bande corresponde à l’indicateur de direction sur le
carter.
Tendre la bande.
Remonter le carter de la bande.
Remarque:
Les bandes abrasives se détendent en fonctionnant, un
ajustage peut être nécessaire.
7.2 Réglage du circuit de la bande
connecter la machine duseau. Tirer la bande à la main
dans le sens indiq sur le carter de la bande.
La bande doit circuler au centre du rouleau.

Table of Contents

Related product manuals