EasyManua.ls Logo

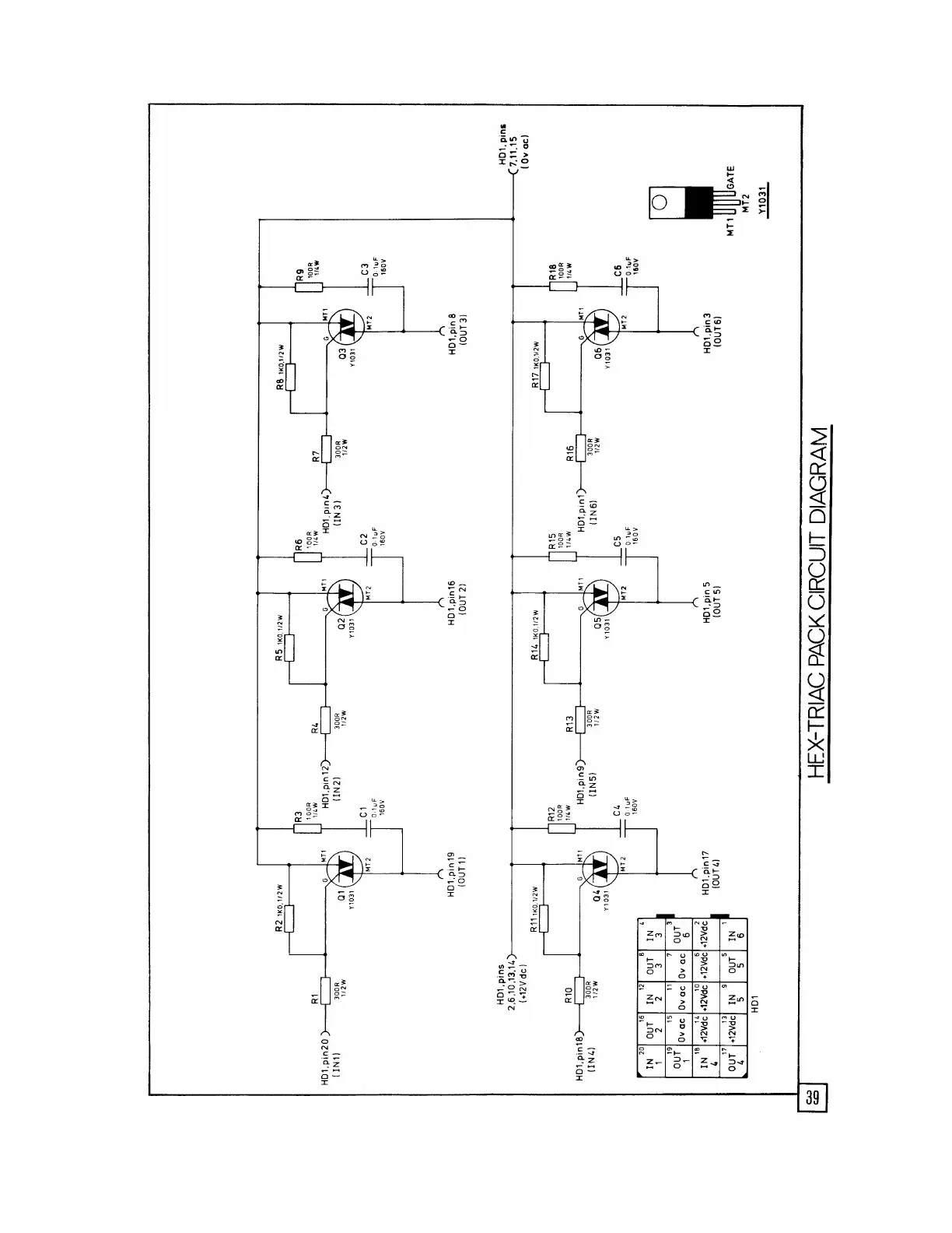
JPM MPS2 - Hex Triac Pack - Circuit Diagram

Default Icon
57 pages
Print Icon
To Next Page IconTo Next Page
To Next Page IconTo Next Page
To Previous Page IconTo Previous Page
To Previous Page IconTo Previous Page
Loading...
39

Table of Contents