EasyManua.ls Logo

JVC CA-UXGN7V - Part Description; Front View; Rear View

JVC CA-UXGN7V
60 pages
Print Icon
To Next Page IconTo Next Page
To Next Page IconTo Next Page
To Previous Page IconTo Previous Page
To Previous Page IconTo Previous Page
Loading...
3
Introduction
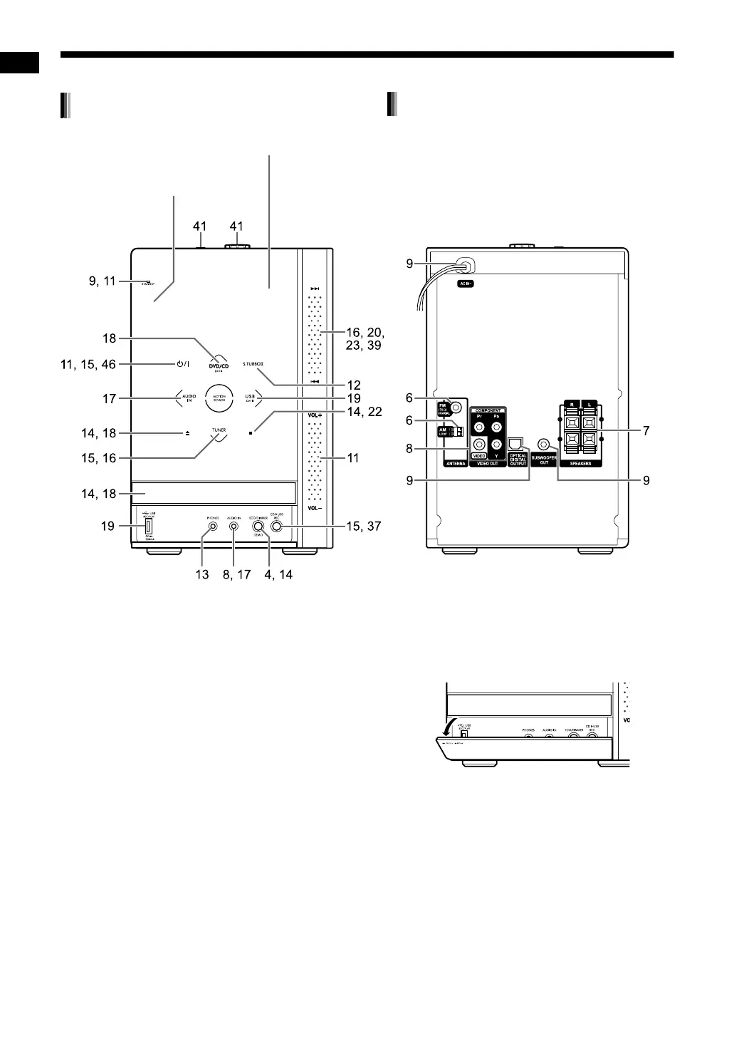
The numbers refer to the pages in which the parts are explained.
Activating the buttons on the main unit
Before using the buttons on the main unit, place
your hand over the front of the main unit. The but-
tons, controls and indicators gradually start illumi-
nating.
Using the ¢/4 and [VOL +/–] controls
To operate the ¢/4 control on the right front
of the main unit, vertically slide your finger on the
area between ¢ and 4.
Similarly, to operate the [VOL +/–] control, slide your
finger on the
area
between [VOL +] and [VOL –].
Opening the front cover
To use the buttons and terminals concealed under
the front cover, use your finger to pull open the part
indicated with [ 2 PULL OPEN].
Front view
Remote control sensor
Refer to “Display window” shown on page 4.
Rear view
Part description
UX-GN7V[US]EN-02.fm Page 3 Thursday, February 5, 2009 10:54 AM

Table of Contents

Related product manuals