EasyManua.ls Logo

JVC GZ-MG334 - Initial Setup and Settings; Charging the Battery Pack; Date;Time Setting

JVC GZ-MG334
76 pages
To Next Page IconTo Next Page
To Next Page IconTo Next Page
To Previous Page IconTo Previous Page
To Previous Page IconTo Previous Page
Loading...
14
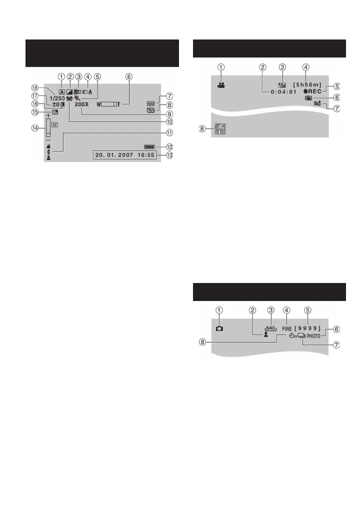
During both Video and Still Image
Recording
! Selected Operation Mode Indicator
(pg. 24)
4
: Auto Mode
3
: Manual Mode
# Effect Mode Indicator (pg. 26)
$ Tele Macro Mode Indicator (pg. 26)
% LED Light Indicator (pg. 22)
& Program AE Mode Indicator (pg. 24)
( Zoom Indicator (pg. 22)
) Selected Medium Indicator (pg. 64)
* Drop Detection Indicator (Appears when
[DROP DETECTION] is set to [OFF].)
(pg. 64)
+ Approximate Zoom Ratio (pg. 22)
, White Balance Indicator (pg. 26)
- Manual Focus Adjustment Indicator
(pg. 25)
. Battery Indicator (pg. 70)
/ Date/Time (pg. 17)
0 Brightness Control Indicator (pg. 64)
1 Backlight Compensation Indicator
(pg. 24)
2 Iris Lock Indicator (pg. 25, 26)
3 ± : Exposure Adjustment Indicator
(pg. 25)
. : Photometry Area Control Indicator
(pg. 26)
4 Shutter Speed (pg. 26)
During Video Recording Only
! Mode Indicator (pg. 20)
# Counter
$ Picture Quality:
B
(ULTRA FINE),
C
(FINE),
D
(NORMAL),
E
(ECONOMY)
(pg. 62)
% Remaining Time (pg. 20, 73)
&
M
REC: (Appears during recording.)
(pg. 20)
MQ
: (Appears during record-standby
mode.)
( Digital Image Stabiliser (DIS) Indicator
(Appears when [DIS] is set to [OFF].)
(pg. 63)
) Wind Cut Indicator (pg. 63)
* Event Indicator (pg. 23)
During Still Image Recording Only
! Mode Indicator (pg. 21)
# Focus Indicator (pg. 25)
$ Image Size
% Picture Quality: FINE (fi ne) or STD
(standard) (pg. 62)
& Remaining Number of Shots (pg. 73)
( Shooting Indicator (pg. 21)
) Shutter Mode Indicator (pg. 62)
* Self-Timer Recording Indicator (pg. 62)
Indications on LCD Monitor

Table of Contents

Other manuals for JVC GZ-MG334

Related product manuals