EasyManua.ls Logo

JVC KD-DB711 - Abstimmen eines Vorgewählten DAB-Dienstes; Andere DAB-Hauptmerkmale; Speichern von DAB-Diensten; Verfolgen des Gleichen Programms -Alternativfrequenz-Empfang

JVC KD-DB711
98 pages
Print Icon
To Next Page IconTo Next Page
To Next Page IconTo Next Page
To Previous Page IconTo Previous Page
To Previous Page IconTo Previous Page
Loading...
15
DEUTSCH
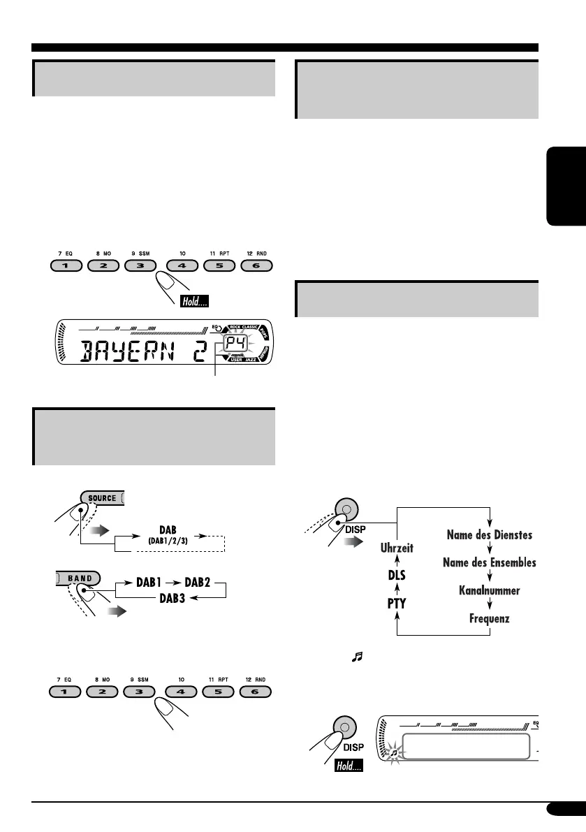
Speichern von DAB-Diensten
Sie können sechs DAB - Dienste (Primärdicnste)
für jedes Frequenzband vorwählcn.
1 Führt Schritte ~ bis auf Seite 14
aus, um einen gewünschten Dienst zu
wählen.
2
Wählen Sie die gewünschte Festsender-
nummer (1 – 6) zur Speicherung.
Die Festsendernummer blinkt eine Zeit lang.
Abstimmen eines vorgewählten
DAB-Dienstes
1
2
3 Wählen Sie vorgewählten DAB-
Dienstnummer (primär) (1 – 6), die
Sie wünschen.
Wenn der gewählte Primärdienst
Sekundärdienste hat, drücken Sie
die gleiche Taste erneut, um auf den
Sekundärdienst zu schalten.
Verfolgen des gleichen Programms
—Alternativfrequenz-Empfang
Mithilfe der Aktivierung des Alternativfrequenze
mpfangs können Sie ständig dasselbe Programm
empfangen.
Bei Versand ab Werk ist der
Alternativefrequenz-Empfang aktiviert.
Zum Deaktivieren des Alternativfrequenz-
Empfangs, siehe „DAB AF“ auf Seite 24.
Andere DAB-Hauptmerkmale
7 PTY-Suchlauf
Die Bedienung ist so, wie auf Seite 11 und
12 für UKW-RDS-Sender beschrieben.
Sie können nicht PTY-Codes separat für
den DAB-Tuner und den UKW-Tuner
speichern.
7 TA-Standbyempfang
Die Bedienung ist so, wie auf Seite 12 für
UKW-RDS-Sender beschrieben.
7 Ändern der Displayinformation
• Wenn
im Display leuchtet:
Sie können das Dynamic Label Segment
prüfen (DLS = DAB-Radiotextinformation).
DLS erscheint eine Zeit lang.

Table of Contents

Other manuals for JVC KD-DB711

Related product manuals