EasyManua.ls Logo

JVC KD-DB711 - Настройка На Запрограммированную Службу DAB; Отслеживание Той Же Самой Программы (Прием На Альтернативных Частотах); Прочие Основные Возможности DAB; Сохранение Служб DAB

JVC KD-DB711
98 pages
Print Icon
To Next Page IconTo Next Page
To Next Page IconTo Next Page
To Previous Page IconTo Previous Page
To Previous Page IconTo Previous Page
Loading...
15
РУCCKИЙ
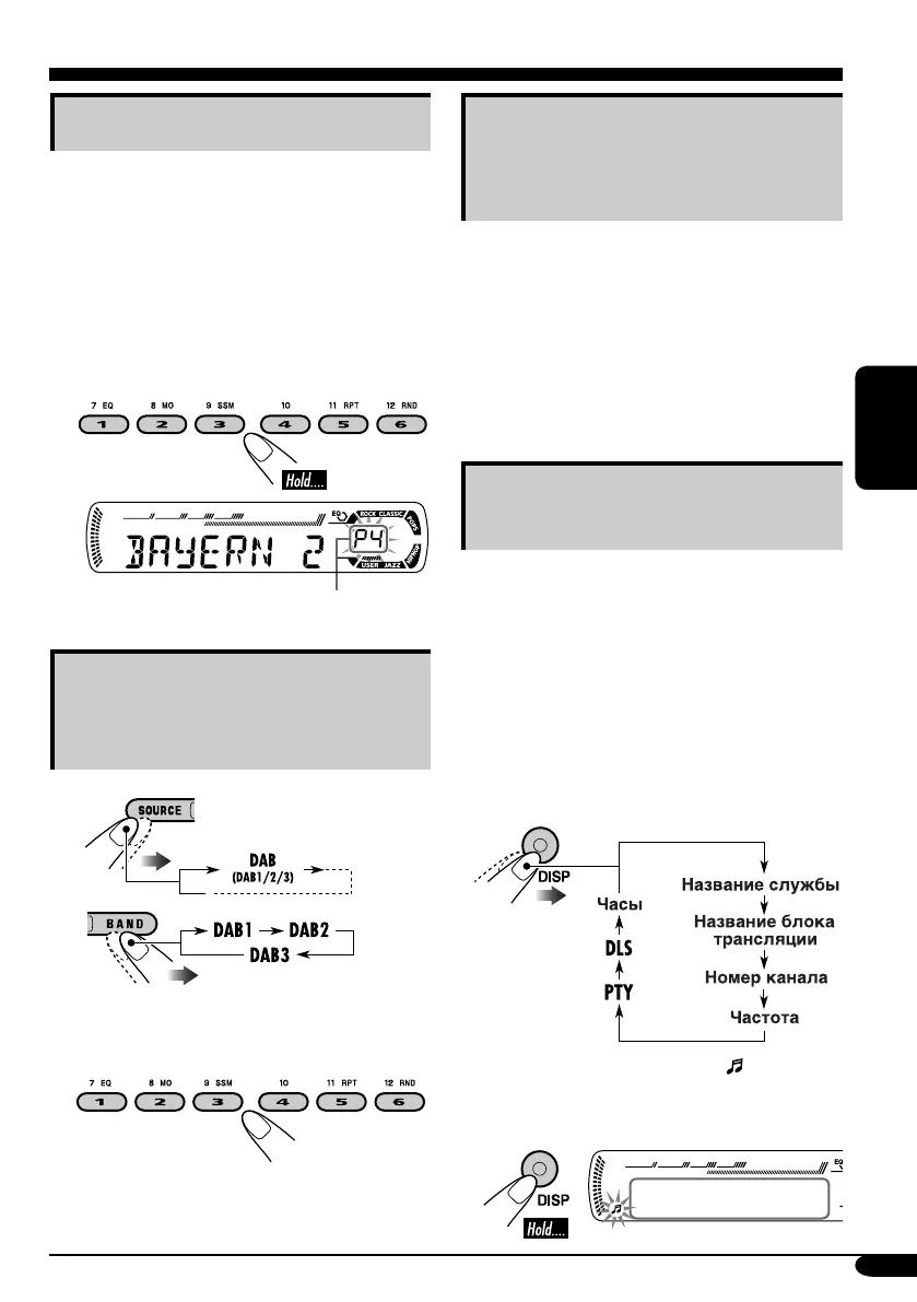
Сохранение служб DAB
Для каждого диапазона частот можно
запрограммировать шесть служб DAB
(основных).
1 Выполните действия с ~ по на
стр. 14, чтобы выбрать нужную
службу.
2 Выберите запрограммированный
номер (1 – 6) для которого
необходимо выполнить сохранение.
Запрограммированный номер мигает
некоторое время.
Настройка на
запрограммированную
службу DAB
1
2
3 Выберите номер (1 – 6) нужной
запрограммированной службы
DAB (основной).
Если выбранная основная служба содержит
дополнительные службы, нажмите
эту кнопку еще раз для настройки на
дополнительные службы.
Отслеживание той же
самой программы (прием на
альтернативных частотах)
Можно продолжать прослушивание одной
и той же программы с помощью функции
приема на альтернативных частотах.
В настройках, установленных на заводе-
изготовителе, прием на альтернативных
частотах включен.
Информацию об отключении приема на
альтернативных частотах см. раздел “DAB AF”
на стр. 24.
Прочие основные
возможности DAB
7 PTY Search
Операции в точности соответствуют
описанию для радиостанций FM RDS на
стр.11 и 12 .
Невозможно сохранять коды PTY
отдельно для тюнера DAB и для тюнера
FM.
7 Резервный прием TA
Операции в точности соответствуют
описанию для радиостанций FM RDS на
стр. 12.
7
Изменение отображаемой информации
Когда отображается значок :
Mожно установить функцию Dynamic
Label Segment (DLS = информация
радиотекста DAB).
Значок DLS
отображается на время.

Table of Contents

Other manuals for JVC KD-DB711

Related product manuals