EasyManua.ls Logo

JVC MF-47L - Page 37

JVC MF-47L
37 pages
Print Icon
To Previous Page IconTo Previous Page
To Previous Page IconTo Previous Page
Loading...
|
\*
2
ies
*.
/
i
\
\
=o
\
\,
\
PN
™~
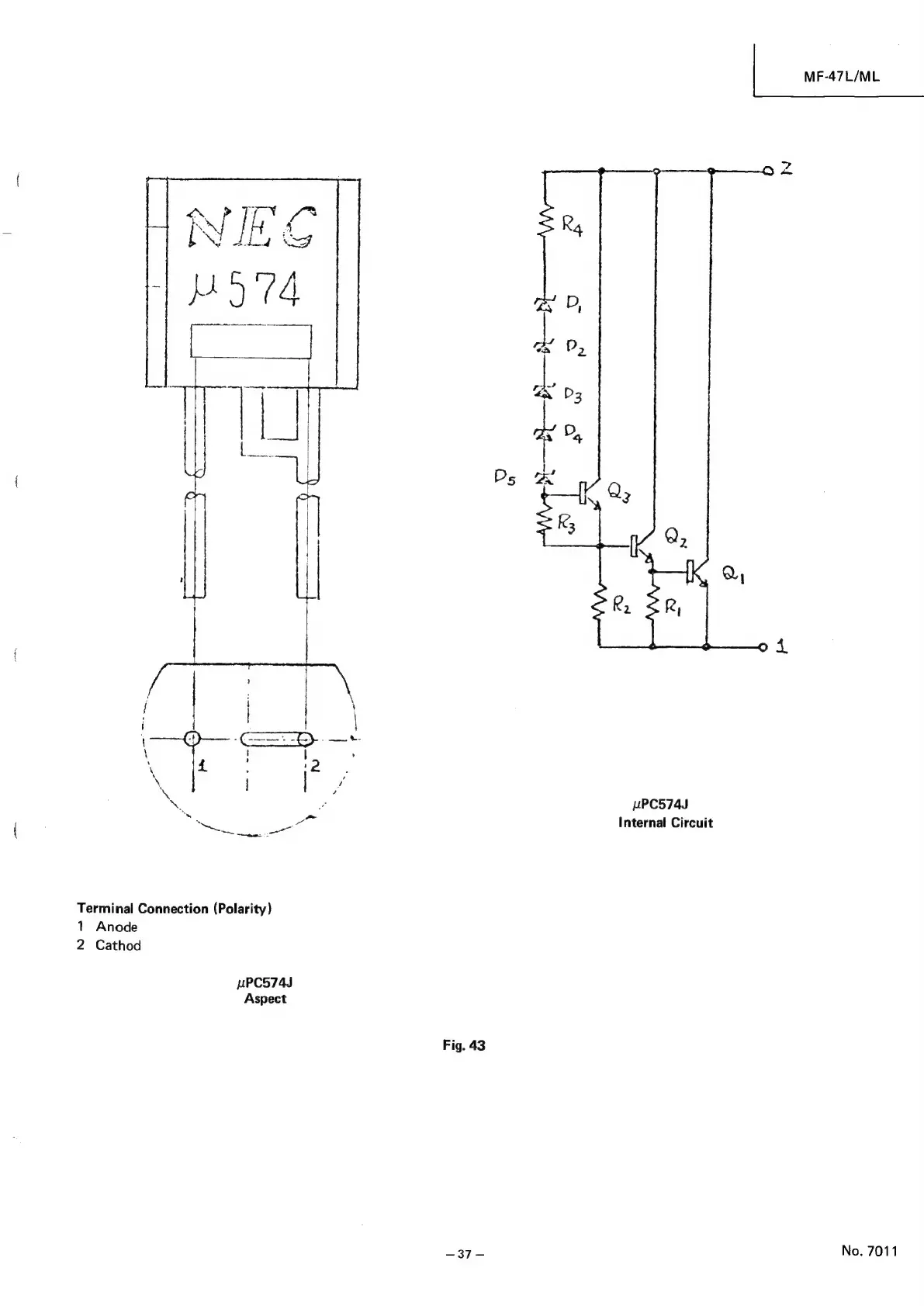
Terminal
Connection
(Polarity)
1
Anode
2
Cathod
uPC574J
Aspect
Fig.
43
—~37—
|
MF-47L/ML
uUPC574J
Internal
Circuit
No.
7011

Related product manuals