EasyManua.ls Logo

Kenmore 625.348321 - Troubleshooting Error Codes and Diagnostics

Kenmore 625.348321
36 pages
Print Icon
To Next Page IconTo Next Page
To Next Page IconTo Next Page
To Previous Page IconTo Previous Page
To Previous Page IconTo Previous Page
Loading...
SERVICE TECH. INFORMATION
SECTION 5
24
5C. TROUBLESHOOTING
AUTOMATIC ELECTRONIC DIAGNOSTICS
The face plate has a self-diagnostic function for the
electricalsystem(exceptinputpower).Thefaceplate
monitors the electronic components and circuits for
correct operation. If a malfunction
occurs,anerrorcodeappears inthe
face plate display.
The chart below shows the error codes that could
appear, and the possible defects for each code.
While an error code appears in the display, all face
plate buttons are inoperable except the SET button.
The SET button remains operational so the service
person can make the MANUAL ADVANCE DIAG-
NOSTICS to further isolate the defect.
CODE
POSSIBLE DEFECT
MOST LIKELY LESS LIKELY
E
1
,
E
2
,
w
i
r
i
n
g
h
a
r
n
e
s
s
o
r
c
o
n
n
e
c
t
i
o
n
t
o
s
w
i
t
c
h
/
p
o
s
i
t
i
o
n
s
w
i
t
c
h
/
m
o
t
o
r
i
n
o
p
e
r
a
t
i
v
e
/
v
a
l
v
e
d
e
f
e
c
t
c
a
u
s
i
n
g
E
1
,
E
2
,
E
3
,
E
4
w
i
r
i
n
g
h
a
r
n
e
s
s
o
r
c
o
n
n
e
c
t
i
o
n
t
o
s
w
i
t
c
h
/
p
o
s
i
t
i
o
n
s
w
i
t
c
h
/
m
o
t
o
r
i
n
o
p
e
r
a
t
i
v
e
/
v
a
l
v
e
d
e
f
e
c
t
c
a
u
s
i
n
g
h
i
g
h
t
o
r
q
u
e
E
3
,
E
4
h
i
g
h
t
o
r
q
u
e
PROCEDURE FOR REMOVING ERROR CODEFROM FACE PLATE: 1.Unplug transformer2.Correctde-
fect 3. Plug-in transformer 4. Wait for 6 minutes. The error code will return if the defect was not corrected.
FACE PLATE REPLACEMENT: Be sure the valveis in service position (observe valve cycle indicator. . . see
below) when replacingthe face plate.
If, afterinstalling and programmingthereplacementfaceplace,the valve is not inservice position,dothefol-
lowing to assure correct cycle orientation, or timing, between the face plate and valve.
Use the MANUAL ADVANCE procedures, below. With the RECHARGE NOW button, advance through the
recharge cycles until the valve stops in service position, and RECHARGE no longer flashes in the timer.
NOTE: The valve motor may automaticallydrive throughseveral valve positions while searching for service.
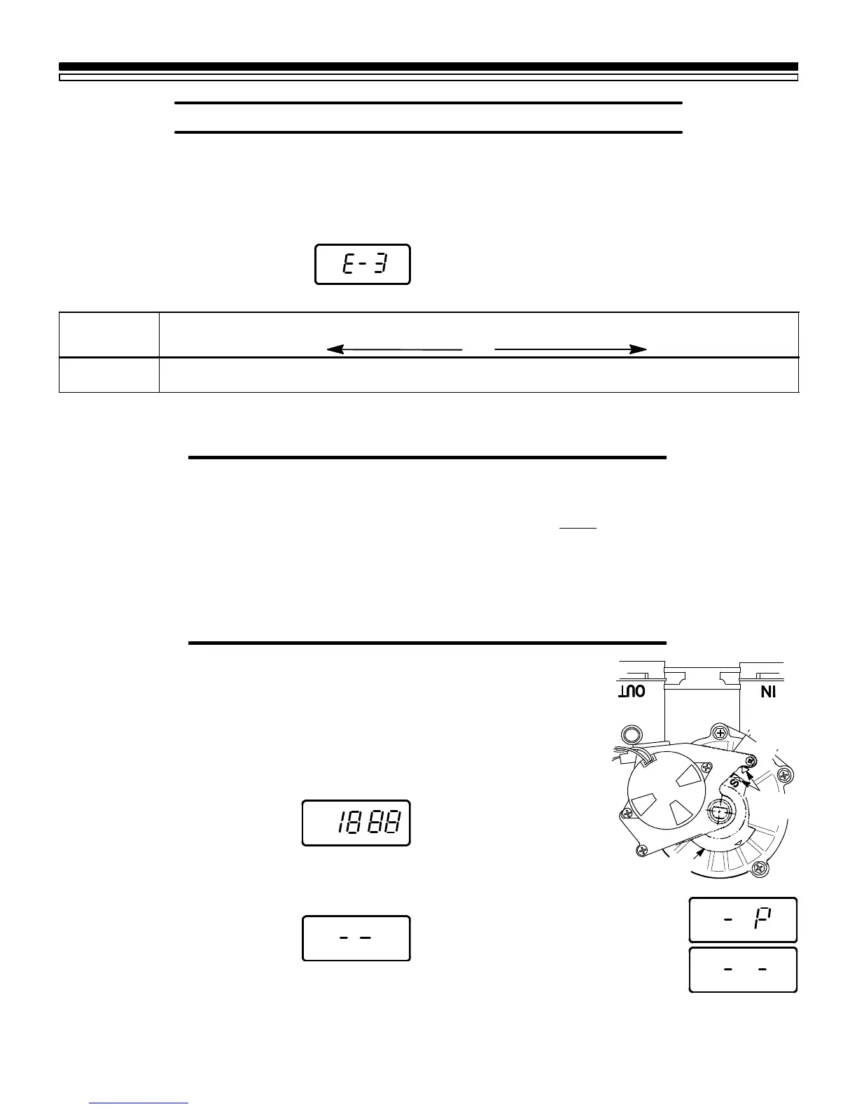
MANUAL ADVANCE DIAGNOSTIC
Use the following procedures to advance softener
valve through regeneration cycles to check opera-
tion.
Remove top cover to observe valve rotation.
DISPLAY MUST SHOW TIME AND DAY
1. Press and hold £ for 3 seconds
until 18:88 displays.
2. Press ¢ to display position (P) switch open or
closed indicator.
If the valve is in service, fill, brin-
ing, backwash or fast rinse (see
markingsoncamundermotor),the
display will show¼(- -), meaning
the position switch is open.
While the valve is ro-
tating from 1 cycle to
another, the display
will show (- P), mean-
ingthepositionswitch
is closed.
3. To advance valve,
press ¤ each time
you want to move
into next cycle.
(Pressing ¤ while
valve is rotating
has no affect.)
Pressandhold¤for3secondsto
move softener into fill cycle. Re-
move brinewell cover and, using a
flashlight, observe fill water enter-
ing tank.
continued
CAM
MOTOR
position
markers
PM
MO WE TH FR SA
RCHG
.
.
AM
TU
SU

Related product manuals