EasyManua.ls Logo

KitchenAid KFDC506JYP - Page 18

KitchenAid KFDC506JYP
64 pages
Print Icon
To Next Page IconTo Next Page
To Next Page IconTo Next Page
To Previous Page IconTo Previous Page
To Previous Page IconTo Previous Page
Loading...
18
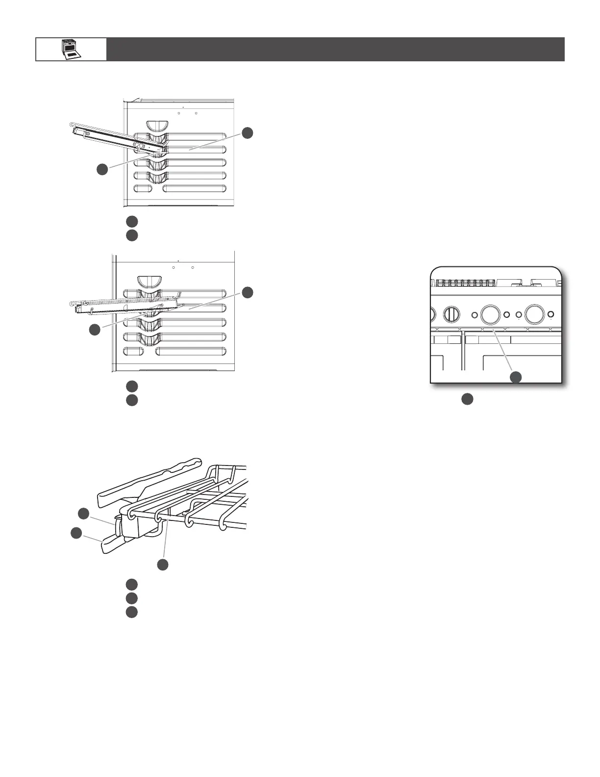
6. Pull the rack assembly slightly forward until the front edge
drops and the sliding rails are on the rack guide.
To Remove Roll-Out Rack
1. Push the sliding shelf in completely so that it is closed and
engaged with the slide rails.
1
2
1
“V” cutout
2
Rack guide
1
2
1
“V” cutout
2
Rack guide
1
2
3
1
Sliding shelf
2
Slide rails
3
Rack
2. Using 2 hands, lift up on the front edge of the rack
assembly. Slowly push the rack assembly to the back wall
of the oven so the front edge of the sliding shelf sits on the
rack guides on the side of the oven cavity. The front edge of
the rack should be higher than the back edge.
3. Using 2 hands, lift up the back of the rack assembly so that
the front and back are level on the rack guides.
4. Pull the rack assembly out.
To avoid damage to the sliding shelves, do not place more than
25 lbs (11.4 kg) on the rack.
Do not clean the roll-out rack in a dishwasher. It may remove the
rack’s lubricant and affect its ability to slide.
See the “General Cleaning” section for more information.
When placing racks in adjacent positions, start by loading the
lower rack positions rst and then installing the rack in the
position immediately above it.
Oven Vent
The oven vent should
not be blocked or covered
since it allows the release of
hot air and moisture from the
oven. Blocking or covering
the vent will cause poor air
circulation, affecting cooking
and cleaning results. Do not
set plastics, paper, or other
items that could melt or burn
near the oven vent.
Cooling Fan
The oven has a dual speed cooling fan motor.
When the oven temperature is in the Self-Cleaning cycle, the fan
will operate at its highest speed to increase airow and better
exhaust the hotter air through the oven vent(s). An increase in
noise may be noticeable until the oven cools.
NOTE: Cooling fan may continue to run after the oven has been
turned off.
1
Oven vent
1
USING YOUR OVEN

Related product manuals