EasyManua.ls Logo

KitchenAid KFDC506JYP - Page 9

KitchenAid KFDC506JYP
64 pages
Print Icon
To Next Page IconTo Next Page
To Next Page IconTo Next Page
To Previous Page IconTo Previous Page
To Previous Page IconTo Previous Page
Loading...
9
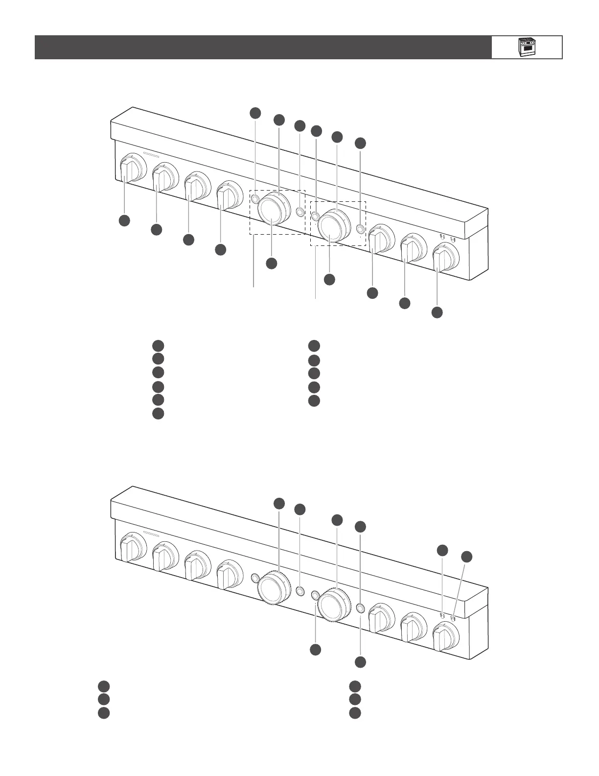
Cooktop Knobs and Buttons
A
Left Rear Knob
B
Left Front Knob
C
Center Rear Knob
D
Center Front Knob
E
Oven Light Button
F
Temperature Knob
G
Mode Knob
H
Oven Start Button
I
Right Rear Knob
J
Right Front Knob
K
Griddle Knob
48" (121.9 CM)
NOTE: Cooktop conguration, features, and controls may differ.
PARTS AND FEATURES
E
H
E
H
G
A
B
C
D
F
G
F
I
J
K
Controls left
cavity
Controls right
cavity
Indicator Lights
A
Temperature and Mode Knob Indicator Light
B
Wi-Fi Indicator
C
Start Button Indicator Light
D
Griddle Preheat Light
E
Griddle Cooktop ON Light
F
Remote Indicator
C
C
D
E
A
A
B
F

Related product manuals