EasyManua.ls Logo

Kobra SSD - Anleitung zum Schärfen des Schneidmechanismus und Rotors

Kobra SSD
Print Icon
To Next Page IconTo Next Page
To Next Page IconTo Next Page
To Previous Page IconTo Previous Page
To Previous Page IconTo Previous Page
Loading...
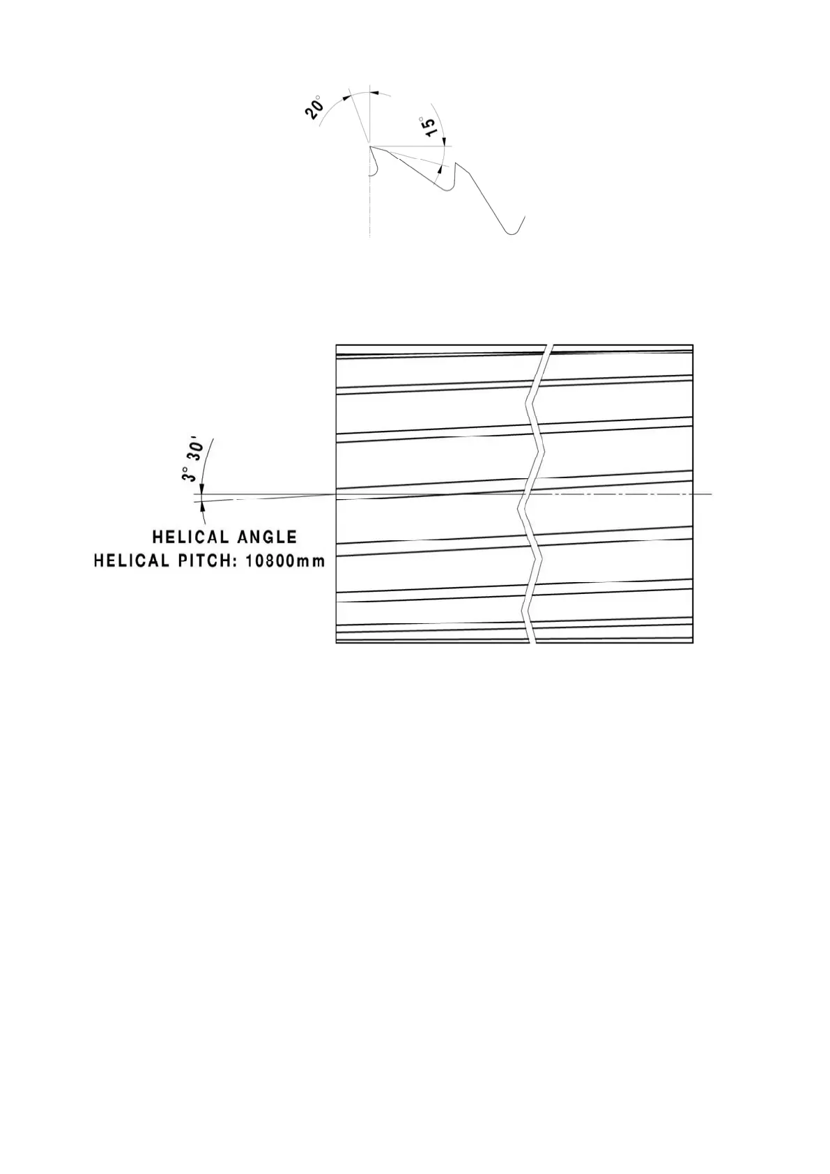
ANLEITUNG ZUM SCHÄRFEN DES ROTORS UND SCHNEIDMECHANISMUS
58

Table of Contents

Related product manuals