EasyManua.ls Logo

Kobra SSD - Assemblage des Lames de Coupe

Kobra SSD
Print Icon
To Next Page IconTo Next Page
To Next Page IconTo Next Page
To Previous Page IconTo Previous Page
To Previous Page IconTo Previous Page
Loading...
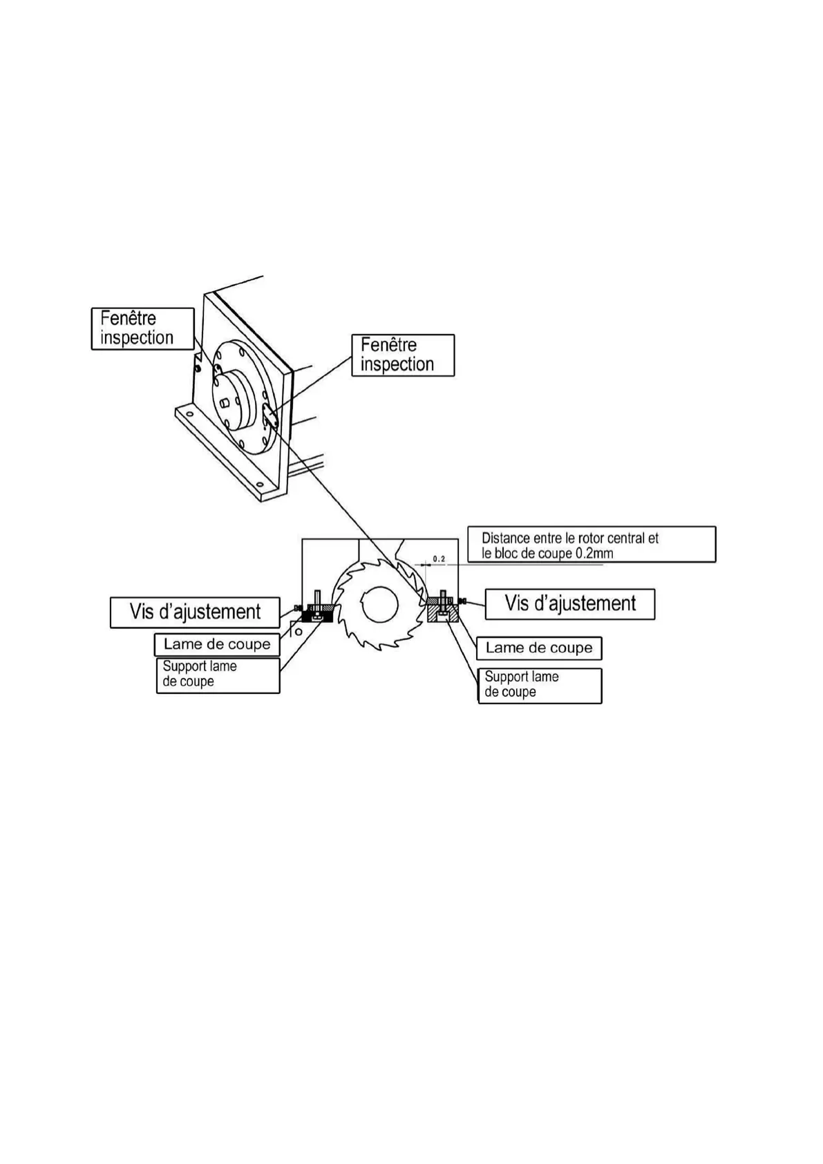
ASSEMBLAGE DES LAMES DE COUPE
Aprés avoir procédé à laffutage, remontez les lames de coupe comme suit:
La position des lames et de leurs support est indiquée sur le shéma ci-dessous
Fixez les lames et leurs supports avec les vis en vous assurant que celles-ci ne soient pas totalement
serrées.
Les vis de réglage permettent de définir un espace précis de 0,2 mm (visible à travers les fenêtres
dinspection) entre le rotor central et les lames de coupe.
Lorsque lespacement est correct, serrez entièrement la lame avec les vis de maintien.
Serrez les vis de la fenêtre dinspection
Shéma dassemblage des lames de coupe
79

Table of Contents

Related product manuals