EasyManua.ls Logo

Koden RA40C - Page 34

Koden RA40C
110 pages
Print Icon
To Next Page IconTo Next Page
To Next Page IconTo Next Page
To Previous Page IconTo Previous Page
To Previous Page IconTo Previous Page
Loading...
24
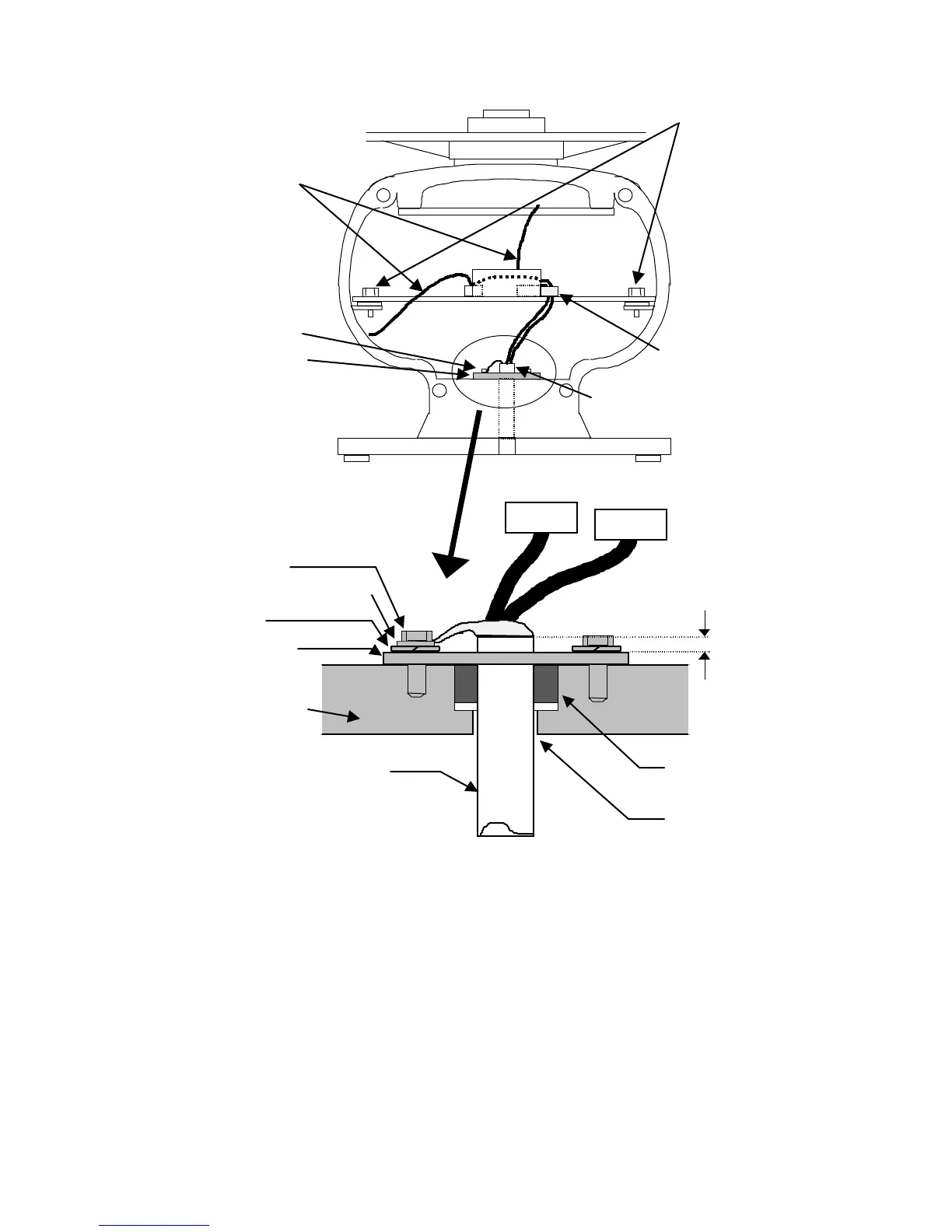
TR unit fixing bolts
Remove connector
Fixing bolt
Fixing plate
Inter-connection cable
Clumper
5-10 mm
Fixing bolt
Cable shield terminal
Washer
Fixing plate
Scanner unit
Inter-connection cable
Rubber
Cable inlet
Fig.3-9 Fitting interconnecting cable

Table of Contents

Related product manuals