EasyManua.ls Logo

Korg D1200 - Page 108

Korg D1200
163 pages
Print Icon
To Next Page IconTo Next Page
To Next Page IconTo Next Page
To Previous Page IconTo Previous Page
To Previous Page IconTo Previous Page
Loading...
106
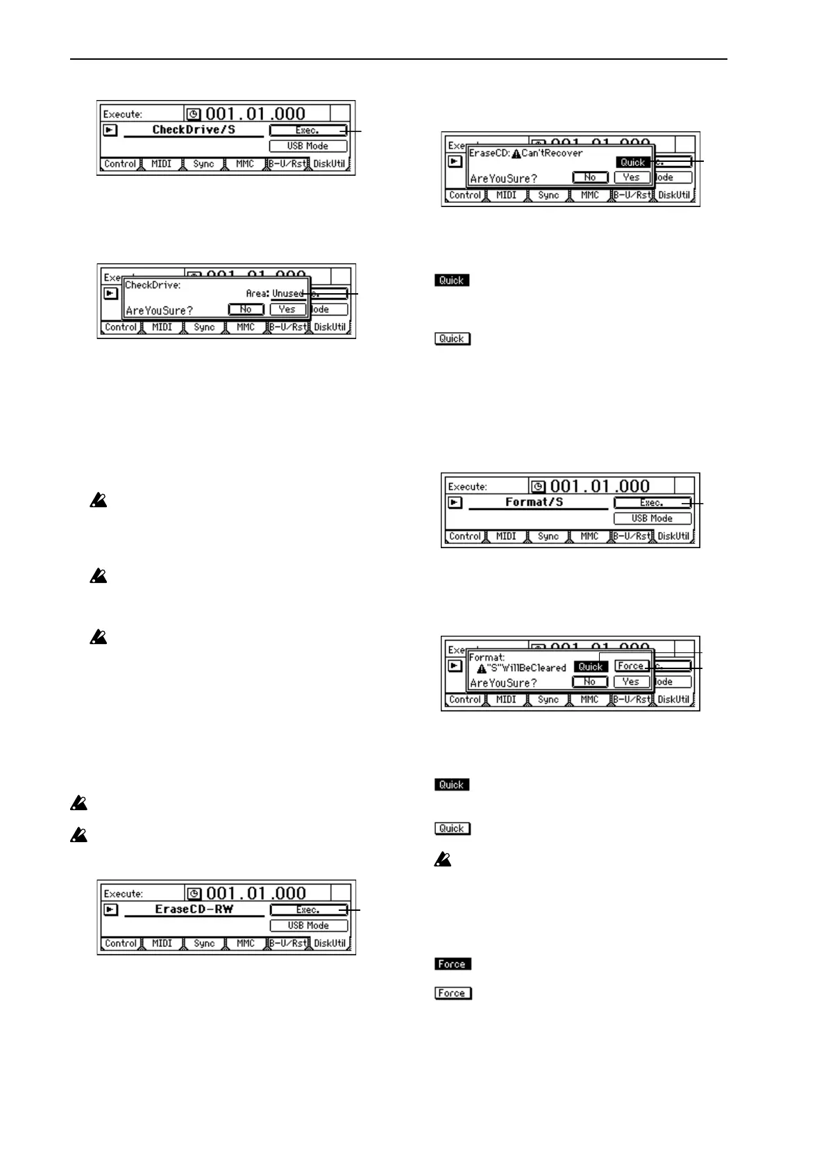
1. Exec.(Execute)...................................................
Executes the check drive function.
1a. Area.......................... [Unused, Full, CurSng]
Specifies the area that will be checked.
Unused: Of the unused area, check and repair the first 2
GB that will be used next.
Full: Check and repair the entire area.
CurSong: Check and repair the area used by the cur-
rently selected song.
Press the [YES/OK] button to begin the drive check.
The Check Drive operation requires a certain
amount of time.
If “Area” is “Full”: approximately 4 hours 30 min-
utes
If “Area” is “Unused”: approximately 25 minutes
If “DiskBusy” appears even after you perform the
Check Drive operation, you will need to optimize
the track data (p.59, 111: [TRACK] “EditTrk” tab
page “Optimize Track”).
In a studio or similar location, vibration due to ultra-
low frequencies may cause “DiskBusy” to occur. If
this is the cause of the error message, you can solve
the problem by moving the D1200 to a different lo-
cation, rather than executing the Check Drive oper-
ation.
“EraseCD-RW”: Erase a CD-RW disc
This operation erases all data that has been written to a CD-
RW disc. When you erase a disc, you will once again be able
to use the entire disc area as a blank disc.
When you execute “Erase CD-RW,” all data on that disc
will be lost.
You cannot execute “Erase CD-RW” on a disc other than
a CD-RW.
1. Exec.(Execute) ...................................................
Executes erasure of the CD-RW disc.
1a. Quick SW ......................................[On, Off]
Selects the erasure method for the CD-RW.
On: A high-speed erase will be performed on the
entire CD-RW disc. Since only the track information will
be erased, the erasure will require less time. This will
not affect writing.
Off: The entire CD-RW disc will be erased com-
pletely. Use this setting if the disc is not recognized even
after it was erased with the “Quick” turned on.
Press the [YES/OK] key to begin the erasure.
“Format/S”: Format the song drive
This operation formats the song drive of the internal hard
disk.
1. Exec.(Execute) ...................................................
Executes formatting of the song drive.
1a. Quick SW ......................................[On, Off]
Selects the format type.
On: Select this if you want to erase the song data
in a single operation. Since this will initialize only the
management area, it will not require much time.
Off: Select this if the “DiskError” message
appears frequently.
A substantial amount of time will be required if you
execute the format operation with “Quick” turned
“Off.” Song drive (38 GB): approximately 10 hours
2a. Force .............................................[On, Off]
Execute formatting even if the drive contains protected
songs.
On: Forcibly execute formatting even if the drive
contains a song protected by “Protect Song.”
Off: If a song protected by “Protect Song” exists
on the drive, the “Song Protect” message will appear
when you attempt to execute, and the operation will be
aborted.
Press the [YES/OK] key to begin the format operation.
1
1a
1
1a
1
1a
2a

Table of Contents

Other manuals for Korg D1200

Related product manuals