EasyManua.ls Logo

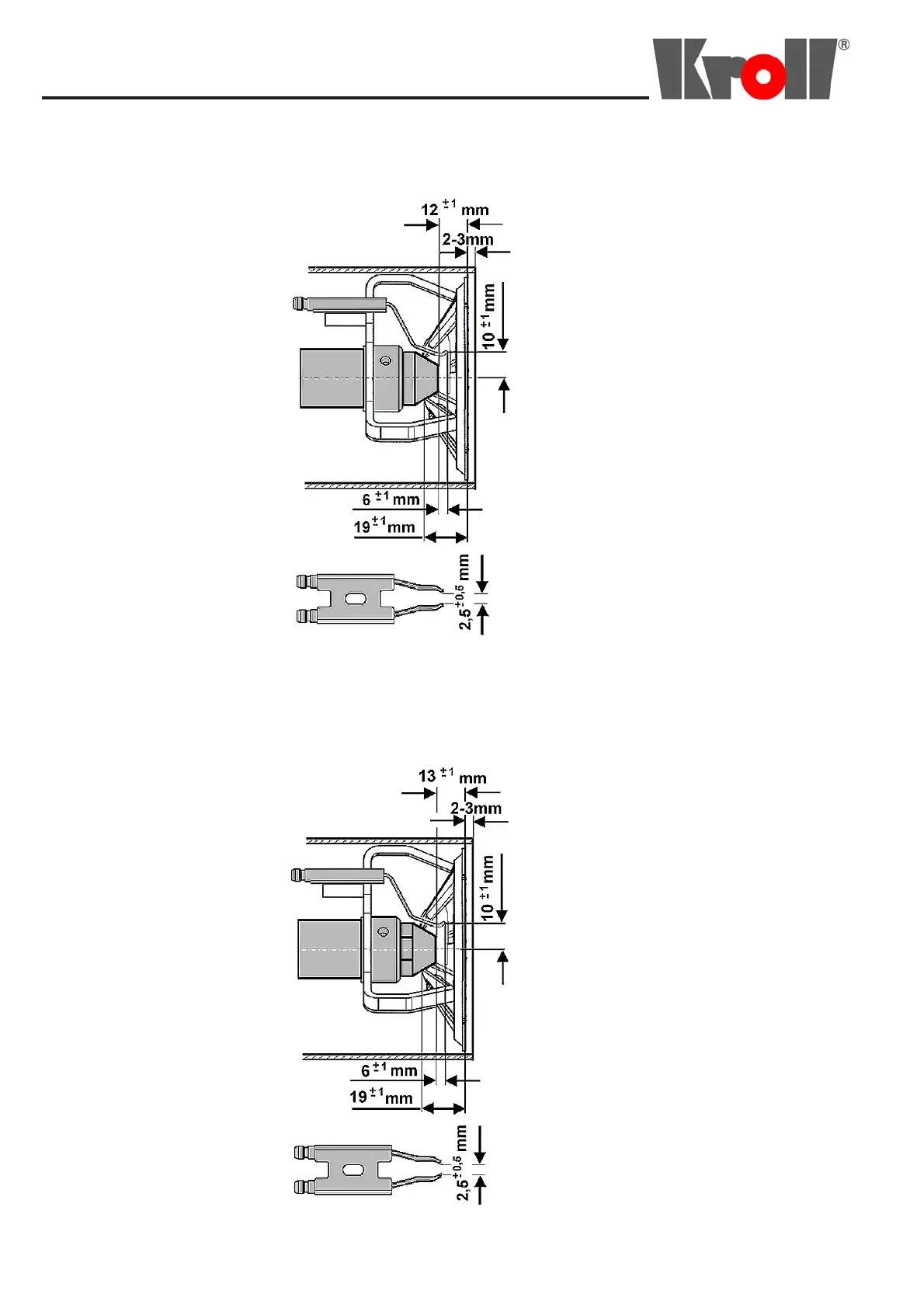
Kroll KG20 - Elektrodeneinstellung; Electrode Adjustement; Réglage de Lélectrode

Kroll KG20
52 pages
Print Icon
To Next Page IconTo Next Page
To Next Page IconTo Next Page
To Previous Page IconTo Previous Page
To Previous Page IconTo Previous Page
Loading...
14
KK
KK
K
G/UB 20G/UB 20
G/UB 20G/UB 20
G/UB 20
Elektrodeneinstellungen / Electrode adjustement
Réglage l’électrode
KK
KK
K
G/UB 55G/UB 55
G/UB 55G/UB 55
G/UB 55

Table of Contents

Related product manuals