EasyManua.ls Logo

Krone Comprima V 150 XC - Insert Net

Krone Comprima V 150 XC
430 pages
Print Icon
To Next Page IconTo Next Page
To Next Page IconTo Next Page
To Previous Page IconTo Previous Page
To Previous Page IconTo Previous Page
Loading...
Operation
159
Pos: 48.97.15 /Ü berschriften/Ü berschriften 3/K- O/N/Netz einleg en @ 74\ mod_1308810058 091_78.doc x @ 657911 @ 3 @ 1
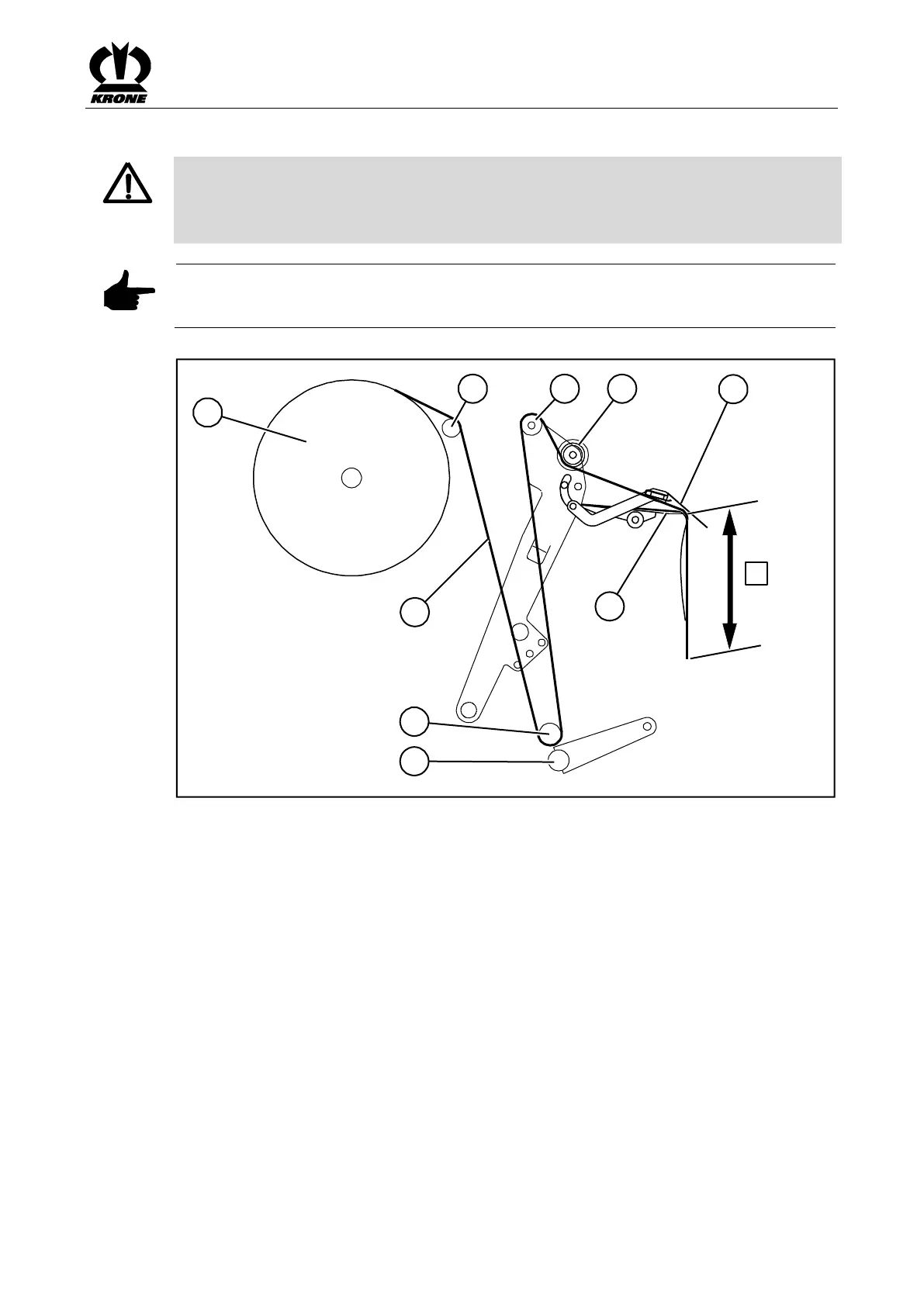
11.18.3 Insert Net
Pos: 48.97.16 / BA/Sicherheit/ 7. Gefahrenhinw eise alt/Rundballe npresse/Warn ung Messer N etz einlegen CF/CV @ 308\ mod_1416899 786255_78.docx @ 2390286 @ @ 1
WARNING! - Risk of Cuts Due to Sharp Cutters!
Serious injuries; especially to hands.
Wear protective gloves when working in the area of the blades and the blade bar
Wear also protective gloves when threading in or removing the net
Pos: 48.97.17 / BA/Bedienung /R undballenpresse/N etzbindung _nur Ausführung N etzbindung a b 17 18/Hi nweis_KRON E Netz verwenden @ 513\mo d_1503325136071_ 78.docx @ 3 528536 @ @ 1
Note
For trouble-free use in the field, KRONE recommends one of the "KRONE excellent" nets, see
label at the machine with the number 27 018 640 *.
Pos: 48.97.18 / BA/Bedienung /R undballenpres se/Netzbindu ng_nur Ausführ ung Netzbindung ab 17 18/Netz einlegen_Bil d2 @ 507\mo d_150029391089 9_78.docx @ 3 484769 @ @ 1
X
1
2 3
7
5
6
4
8
9
COM00596
Fig.
131
Pos: 48.97.19 / BA/Sicherheit/ 8. Voraussetzunge n/Handlungsan weisung für alle Maschinen/Vor aussetzung: Di e Maschine ist stillg esetzt und gesichert, .. .. @ 259\mo d_13986744341 70_78.docx @ 1 979947 @ @ 1
Prerequisite:
Shut down and safeguard the machine, see chapter Safety, "Shutting down and
safeguarding the machine".
Pos: 48.97.20 / BA/Bedienung /R undballenpresse/N etzbindung _nur Ausführung N etzbindung a b 17 18/Rolle naufnahme ist nac h vorn gesc hwenkt_Vora ussetzung @ 513\mod_150 3642167306_78.d ocx @ 353254 6 @ @ 1
You have swung the roll holder forward.
Pos: 48.97.21 / Layout Module /----------------Leerzeile-------------------- @ 240\mod_139514735702 7_0.docx @ 18 90988 @ @ 1
Pos: 48.97.22 / BA/Bedienung /R undballenpresse/N etzbindung _nur Ausführ ung Netzbindung ab 17 18/N etz einlegen_Text 2 @ 507\mod _1500294154 037_78.doc x @ 3484800 @ @ 1
Unwind a section of the net (7) from the net roll (1) and guide it over the deflection shaft (2)
and under the deflection roll at the cross tube (8).
Place the net (7) over the spreading bracket (3).
Place the net (7) under the deflection roll (4) on the retaining sheet (6).
Guide the net (7) under the synthetic cloth (5). Make sure that the net projects over the
edge of the retaining sheet (6) by at least X=250 mm.
Spread the net (7) to a width of approximately 500 mm, so that the drivers of the feed roller
can pick the net up over its full width.
If the net tension is insufficient and the net is not pulled far enough to the outside of the round
bales:
Place the net (7) under the deflection tube on the cross tube (9).
Pos: 48.97.23 / Layout Module /---------------Seitenumbruch---------------- @ 0\mod_1196 175311226_0. docx @ 4165 @ @ 1

Table of Contents

Other manuals for Krone Comprima V 150 XC

Related product manuals