EasyManua.ls Logo

Lampo IP65 - Page 7

Lampo IP65
18 pages
Print Icon
To Next Page IconTo Next Page
To Next Page IconTo Next Page
To Previous Page IconTo Previous Page
To Previous Page IconTo Previous Page
Loading...
6
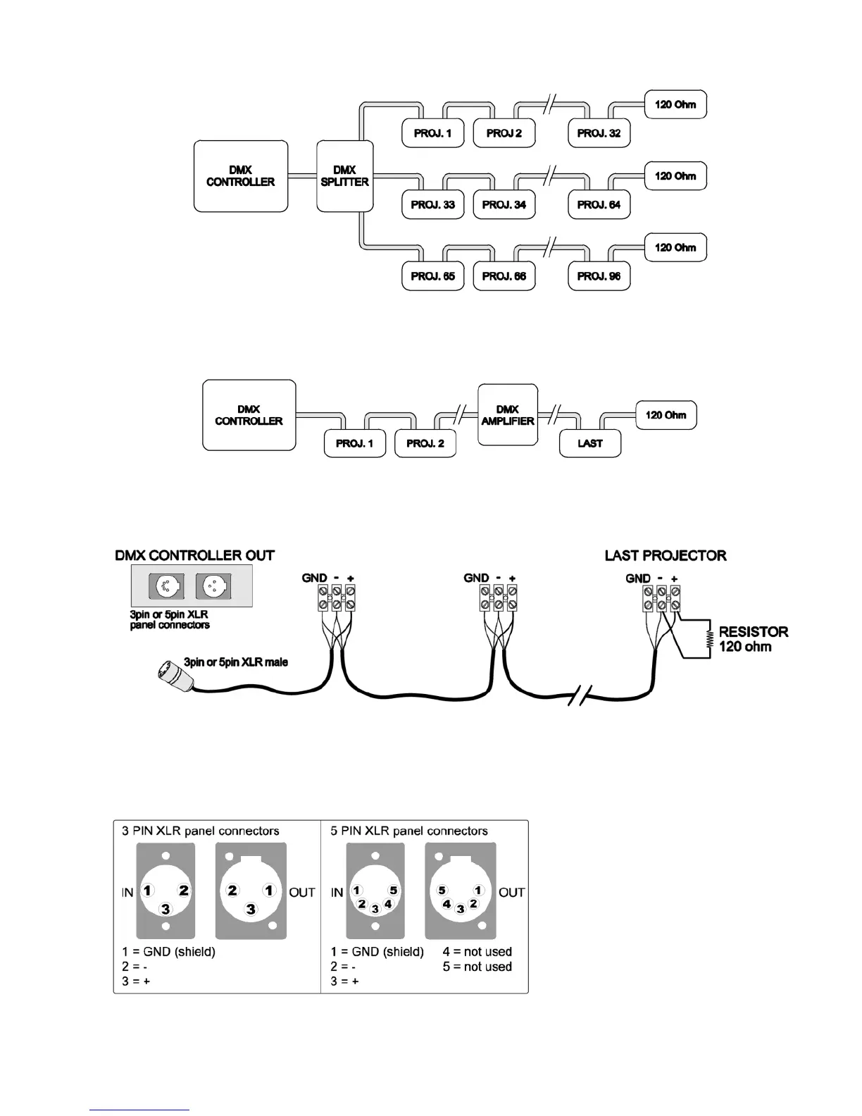
Standard DMX controllers have only one signal out-put. If more than 32 projectors are used it is necessary to have a signal
SPLITTER, that will duplicate the signal in 2 or more lines.
If the signal cable is very long, it is necessary to install a signal AMPLIFIER on the DMX line (at least every 300m of good
quality cable), so that it will repeat the signal to the following projectors.
On the last projector of the signal chain it is necessary to insert a resistor (from 82 to 120 ohm) between positive and negative
terminal (+ and -).
Use MALE XLR 3 or 5 pin connector to connect the projectors to the DMX controller.
Solder on PIN 1 of the XLR connector the shield of the signal cable, on PIN 2 solder the negative (example: black wire of
cable) and on PIN 3 solder the positive (example: red or white wire of the cable).
The sequences and the colours has to be the same on each projector, do not change the sequences