EasyManua.ls Logo

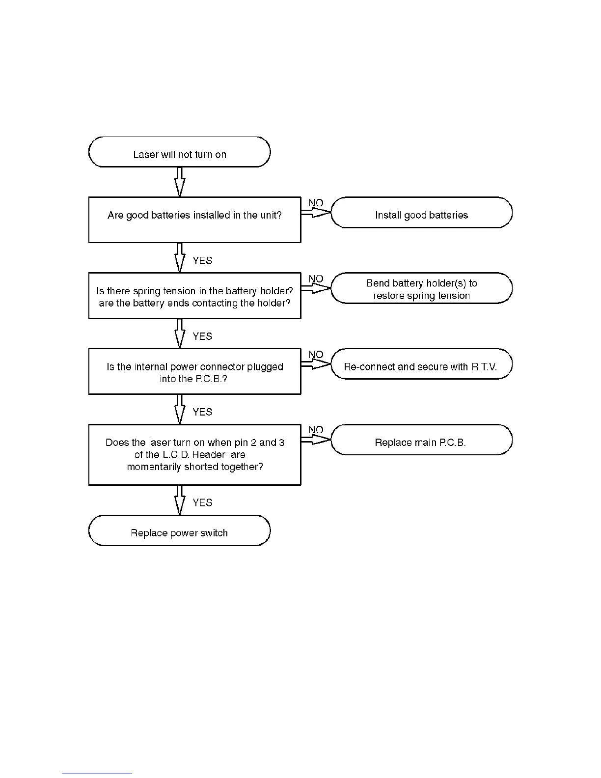
Laser Reference pro shot L1-M - Power Problems

Default Icon
41 pages
Print Icon
To Next Page IconTo Next Page
To Next Page IconTo Next Page
To Previous Page IconTo Previous Page
To Previous Page IconTo Previous Page
Loading...
10
Power Problems