EasyManua.ls Logo

LEAD FLUID YZ15 - Installing YZ35 Pump Head

Default Icon
24 pages
Print Icon
To Next Page IconTo Next Page
To Next Page IconTo Next Page
To Previous Page IconTo Previous Page
To Previous Page IconTo Previous Page
Loading...
BAODING LEAD FLUID TECHNOLOGY CO.,LTD.
Mail
leifu@leadfluid.net WEB
www.leadfluid.net
6
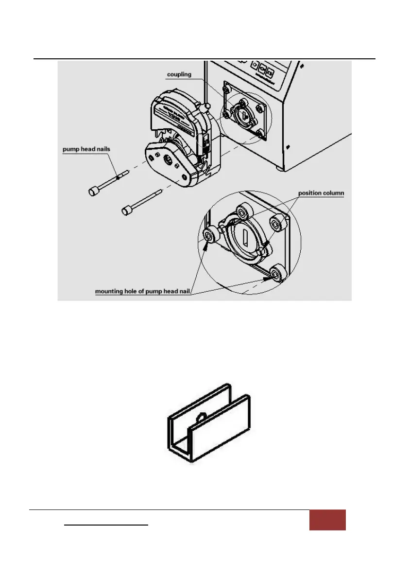
YZ15/25 pump head assembly drawing
Install YZ35 pump head
Setting the shaft protective (the picture below) into the flat shaft end of YZ35
pump head.
shaft protective

Related product manuals