EasyManua.ls Logo

Lennox LCH060H4E - Factory Installed Hot Gas Reheat Operation

Lennox LCH060H4E
72 pages
Print Icon
To Next Page IconTo Next Page
To Next Page IconTo Next Page
To Previous Page IconTo Previous Page
To Previous Page IconTo Previous Page
Loading...
Page 61
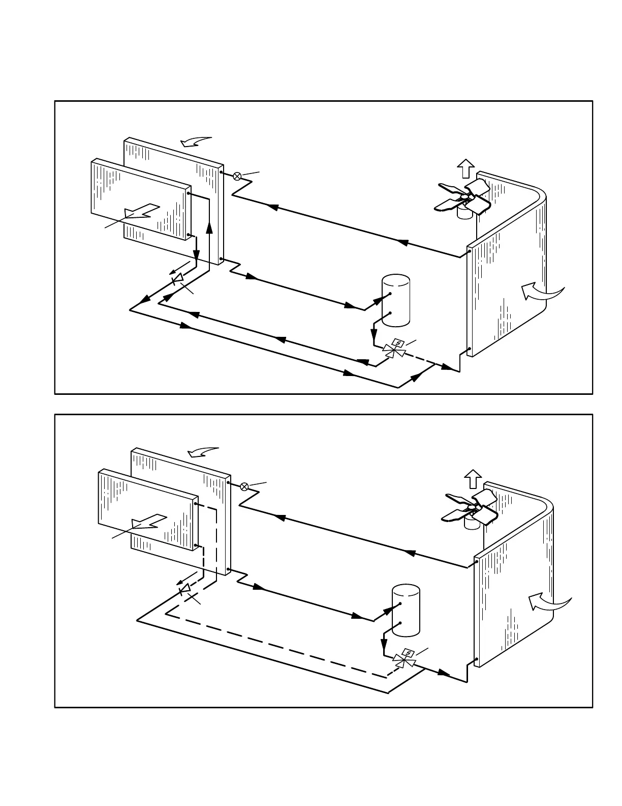
O-Factory Installed-Hot Gas Reheat (optional)
General
Hot Gas Reheat units provide a dehumidifying mode of op
eration. These units contain a reheat coil adjacent to and
downstream of the evaporator coil. Reheat coil solenoid
valve, L14, routes hot discharge gas from the compressor
to the reheat coil. Return air pulled across the evaporator
coil is cooled and dehumidified; the reheat coil adds heat to
supply air. See figure 25 for reheat refrigerant routing and
figure 26 for standard cooling refrigerant routing.
FIGURE 25
REHEAT MODE REFRIGERANT ROUTING
REHEAT
COIL
EVAPORATOR
REHEAT
VALVE
RETURN
AIR
CONDENSER
COIL
OUTDOOR
AIR
COMPRESSOR
SUPPLY
AIR
CHECK
VALVE
EXPANSION
VALVE
COIL
FIGURE 26
COOLING MODE REFRIGERANT ROUTING
REHEAT
COIL
EVAPORATOR
REHEAT
VALVE
RETURN
AIR
CONDENSER
COIL
OUTDOOR
AIR
COMPRESSOR
SUPPLY
AIR
CHECK
VALVE
EXPANSION
VALVE
COIL