EasyManua.ls Logo

Lennox LHT/LDT024 - Page 40

Lennox LHT/LDT024
45 pages
To Next Page IconTo Next Page
To Next Page IconTo Next Page
To Previous Page IconTo Previous Page
To Previous Page IconTo Previous Page
Loading...
Page 40
LHT/LDT024, 036, 048, 060
K-UVC Light (Optional)
When field-installed, use only UVC Light Kit assembly
106881-01 (21A92) with this appliance.
Factory-Installed UVC Light
When the UVC light is factory installed, the lamp is
shipped attached to the filter rack. Remove the lamp and
install into the UVC light assembly as shown in steps 2
through 11.
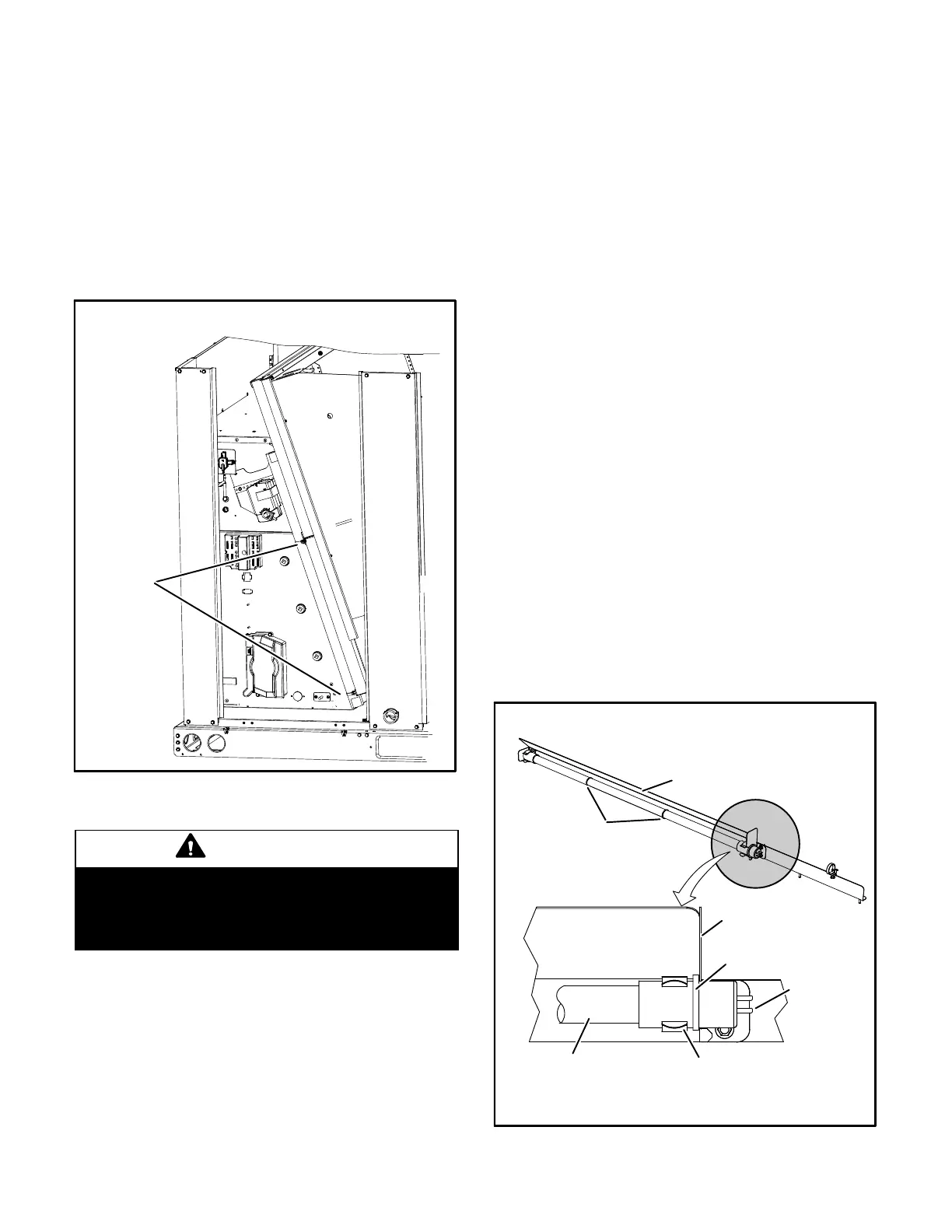
1- Cut wire ties and remove the UVC lamp attached to
the filter rack. See figure 32.
FIGURE 32
HOLDER
CLIPS (2)
FACTORY-INSTALLED UVC LAMP LOCATION
Annual Lamp Replacement
WARNING
Personal Burn Hazard.
Personal injury may result from hot lamps. During
replacement, allow lamp to cool for 10 minutes be
fore removing lamp from fixture.
The lamp should be replaced every 12 months, as UVC
energy production diminishes over time.
1- Obtain replacement lamp 102337-01 for your
germicidal light model.
2- Disconnect power to the rooftop unit before servicing
the UVC kit.
3- Open the blower access door.
4- Remove the screw in wire tie from the UVC assembly
and disconnect the 4-pin connector from the lamp end.
5- Remove the (2) mounting screws of the UVC
assembly. Carefully slide the complete UVC
assembly out through the blower access door.
6- Allow 10 minutes before touching the lamps. Then,
carefully remove the old lamp from the lamp holder
clips.
7- Wear cotton gloves or use a cotton cloth when
handling the new lamp. Place the new lamp in the
holder clips of the UVC assembly. Verify that the lamp
flange at the connector end is sandwiched between
the lamp holder clip and the sheet-metal end stop
(see figure 33).
8- Carefully place the UVC assembly on the blower
deck. Line up the mounting holes on the UVC
assembly with the mounting holes on the blower deck
See figure 34. Use the #10 screws provided to attach
the UVC assembly in place.
9- Make sure to reapply the black convoluted tubing
used to shield electrical wiring in the rooftop unit.
Convoluted tubing is provided when the ionizer is
factory- or field-installed. However, if there is any
concern, aluminum foil tape (not provided) can also
be used to cover any exposed component.
10- Close the blower access door.
11- Reconnect power to the rooftop unit.
12- Open the filter access door and look through the view
port in the triangular sheet-metal panel to verify that
the UVC light is on.
FIGURE 33
LAMP
FLANGE
4-PIN
CONNECTOR
HOLDER
CLIPS (2)
SHEET METAL
END STOP
DETAIL A
BANDS (see
Note below)
UVC
Sub-Assembly
LAMP
NOTE - The bands around the lamp should be evenly spaced
as shown in the diagram.
INSTALL LAMP IN HOLDER CLIPS

Related product manuals