EasyManua.ls Logo

Lennox VRB144

Lennox VRB144
48 pages
To Next Page IconTo Next Page
To Next Page IconTo Next Page
To Previous Page IconTo Previous Page
To Previous Page IconTo Previous Page
Loading...
27
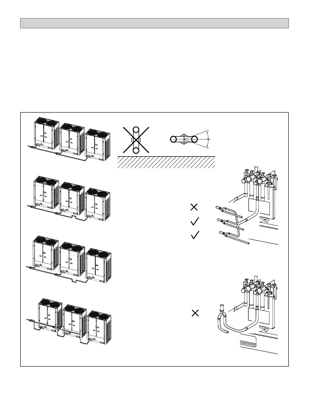
Figure 23. Connecting Manifolded Units
Connecting Manifolded Units
See the instruction manual included with the
branch pipe kit for detailed connection informa-
tion.
Connect the branch pipes between outdoor units
so that they are horizontal level ±10°.
Do not install outdoor unit branch pipes vertically.
Do not allow pipe to block outdoor unit access
panels.
Install a reverse trap if needed.
NOTE - Outdoor unit is shipped for bottom pipe
entry. For front pipe entry installation, use parts in
accessory bag.
10°
10°
CorrectWrong
Horizontal surface
NOTE - All the outdoor units manifolded together should be installed at the same elevation.
Branch kits include pipes with graduated diam-
eters. The piping can be cut to suit the installa-
tion needs.
Use a pipe cutter designed for refrigeration tub-
ing.
Discard unused pipe.
Refer to the Lennox VRF Selection Software
(LVSS) pipe sizing diagram to obtain the correct
inlet and outlet sizes for the installation.
Keep all components sealed until brazing.
Correct way
Correct way
X Wrong way
X Wrong way

Table of Contents

Related product manuals