EasyManua.ls Logo

Lenovo ThinkServer RD430 - Page 55

Lenovo ThinkServer RD430
228 pages
Print Icon
To Next Page IconTo Next Page
To Next Page IconTo Next Page
To Previous Page IconTo Previous Page
To Previous Page IconTo Previous Page
Loading...
3Porte4-7miniSAS
PermettedicollegareilconnettoreminiSASaun'estremitàdiuncavodisegnaleminiSASaminiSASper
supportareleunitàdiscossoda4a7.
4Porte0-3miniSAS
PermettedicollegareilconnettoreminiSASaun'estremitàdiuncavodisegnaleminiSASaminiSASper
supportareleunitàdiscossoda0a3.
5Connettorecavodisegnale
UtilizzatopercollegareilcavodisegnalepericonnettoriUSBanteriorisullamanigliasinistradelrack.
67Connettoredialimentazionea8pin
Permettedicollegareuncavodialimentazioneperfornirealimentazionealbackplane.
Backplaneperimodellidiserverconvanidell'unitàdiscossoda2,5pollici
Inquestasezionevengonoforniteinformazionicheconsentonodiindividuareiconnettorisulbackplaneper
modellidiserverconvanidell'unitàdiscossoda2,5pollici.
Nelleillustrazioniseguentivengonomostratiiconnettorisulbackplanepermodellidiserverconvani
dell'unitàdiscossoda2,5pollici.
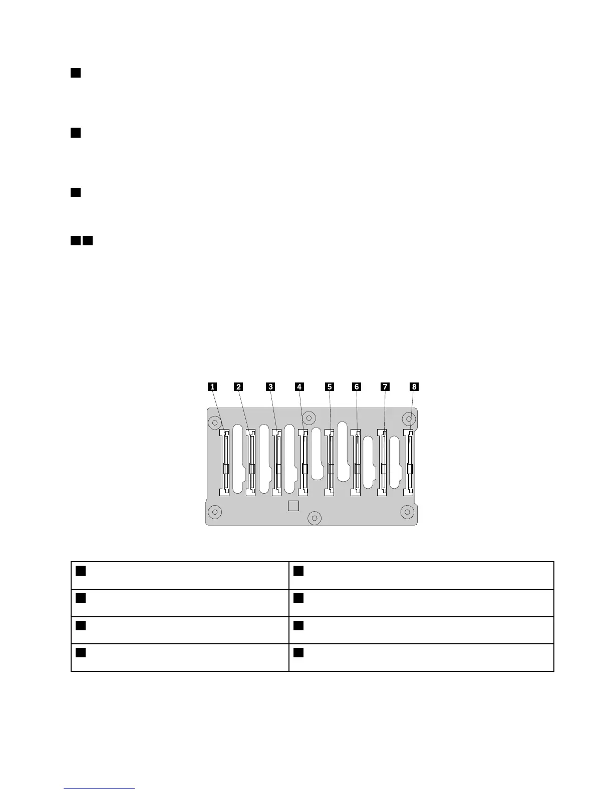
Figura32.Vistaanterioredelbackplanepermodellidiserverconvanidell'unitàdiscossoda2,5pollici
1Slot0perun'unitàdiscossoda2,5pollicio
SSD(SolidStateDrive)
5Slot4perun'unitàdiscossoda2,5pollicioSSD(Solid
StateDrive)
2Slot1perun'unitàdiscossoda2,5pollicio
SSD(SolidStateDrive)
6Slot5perun'unitàdiscossoda2,5pollicioSSD(Solid
StateDrive)
3Slot2perun'unitàdiscossoda2,5pollicio
SSD(SolidStateDrive)
7Slot6perun'unitàdiscossoda2,5pollicioSSD(Solid
StateDrive)
4Slot3perun'unitàdiscossoda2,5pollicio
SSD(SolidStateDrive)
8Slot7perun'unitàdiscossoda2,5pollicioSSD(Solid
StateDrive)
Capitolo3.Panoramicasulprodotto43

Table of Contents

Other manuals for Lenovo ThinkServer RD430

Related product manuals