EasyManua.ls Logo

Lenze SMD - Commissioning; Parameter Setting Overview; Electronic Programming Module (EPM)

Lenze SMD
36 pages
Print Icon
To Next Page IconTo Next Page
To Next Page IconTo Next Page
To Previous Page IconTo Previous Page
To Previous Page IconTo Previous Page
Loading...
12 Lenze 13466185 EDBSW03 v5
Commissioning
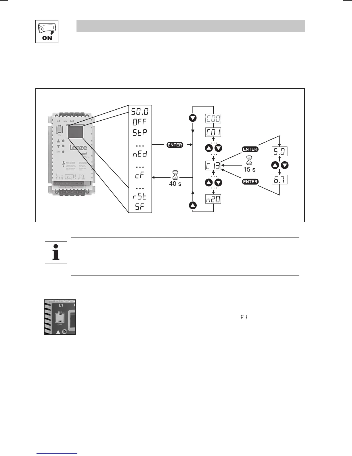
4 Commissioning
4.1 Parameter setting
V0003
NOTE
If the password function is enabled, the password must be entered into C00 to
access the parameters. C00 will not appear unless the password function is enabled.
See C94.
4.2 Electronic programming module (EPM)
The EPM contains the controller’s memory. Whenever parameter settings are
changed, the values are stored in the EPM. It can be removed, but must be installed
for the controller to operate (a missing EPM will trigger an F1 fault). The controller
ships with protective tape over the EPM that can be removed after installation.
An optional EPM Programmer (EEPM1RA) is available that allows: the controller to be programmed
without power; OEM settings to be default settings; fast copying of EPMs when multiple controllers
require identical settings. It can also store up to 60 custom parameter les for even faster controller
programming
Status/fault messages Change parameters
Tmd007

Related product manuals