EasyManua.ls Logo

LG LM50 2004-E1 - Page 48

LG LM50 2004-E1
78 pages
Print Icon
To Next Page IconTo Next Page
To Next Page IconTo Next Page
To Previous Page IconTo Previous Page
To Previous Page IconTo Previous Page
Loading...
2004 Product Data 47
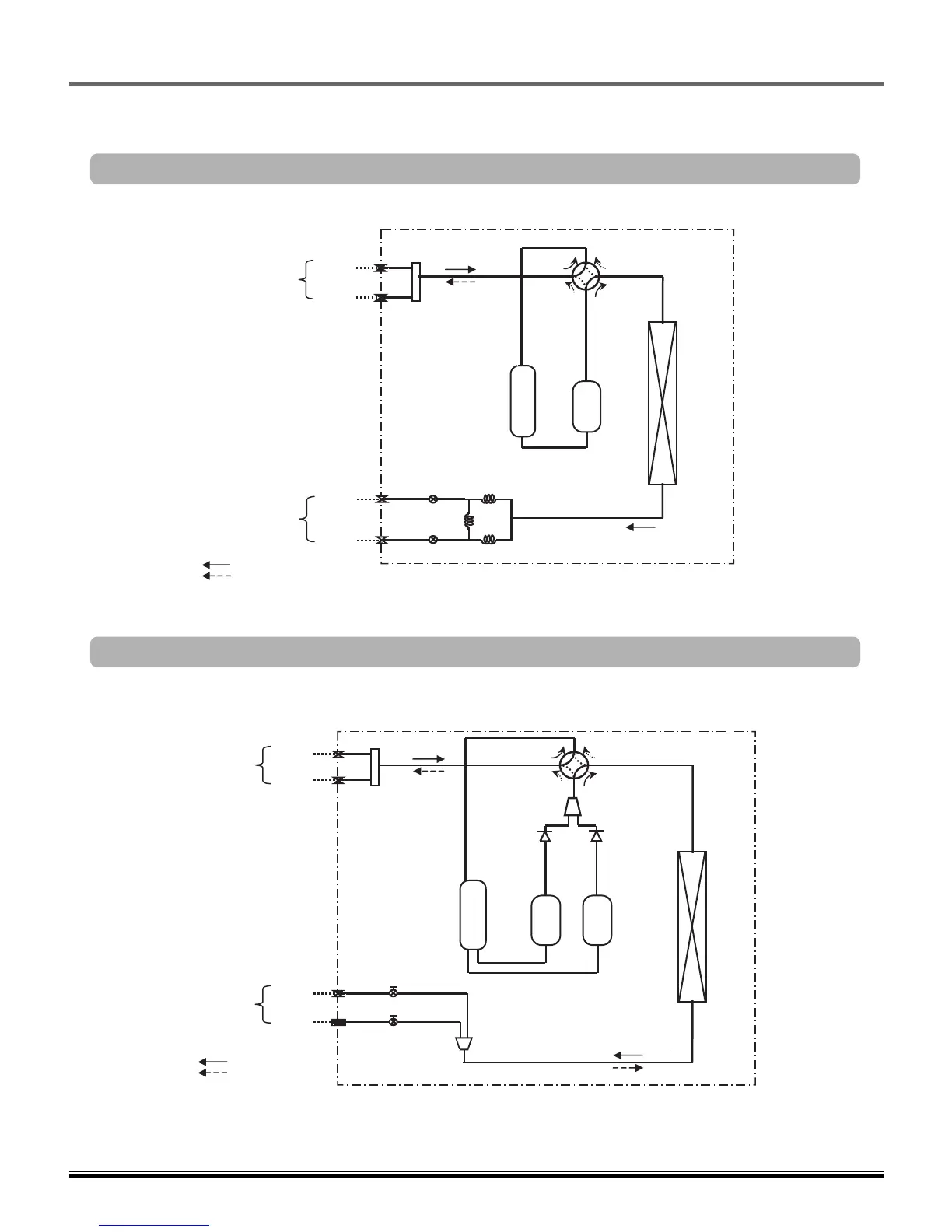
9. Piping Diagrams
Room B
Accumulator
Compressor
Heat
Exchanger
Header
Room A
OUTDOOR UNIT
Field Piping
Gas
Reversing
Valve
Refrigerant Flow
Cooling
Heating
Room B
Room A
Field Piping
Liquid
Capillary Tube
Solenoid Valve
Accumulator
Heat
Exchanger
Check
Valve(2)
Check
Valve(1)
Reversing
Valve
OUTDOOR UNIT
Refrigerant Flow
Cooling
Heating
LEV-A
LEV-B
Header
Room B
Room A
Field Piping
Liquid
Room A
Field Piping
Gas
Room B
Compressor A
Compressor B
A2UH146FA0
A2UH186FA0
9.2.2 Heat Pump

Related product manuals