EasyManua.ls Logo

LG LM50 2004-E1 - Page 49

LG LM50 2004-E1
78 pages
Print Icon
To Next Page IconTo Next Page
To Next Page IconTo Next Page
To Previous Page IconTo Previous Page
To Previous Page IconTo Previous Page
Loading...
48 MPS Variable Multi Split System(50Hz, R410A)
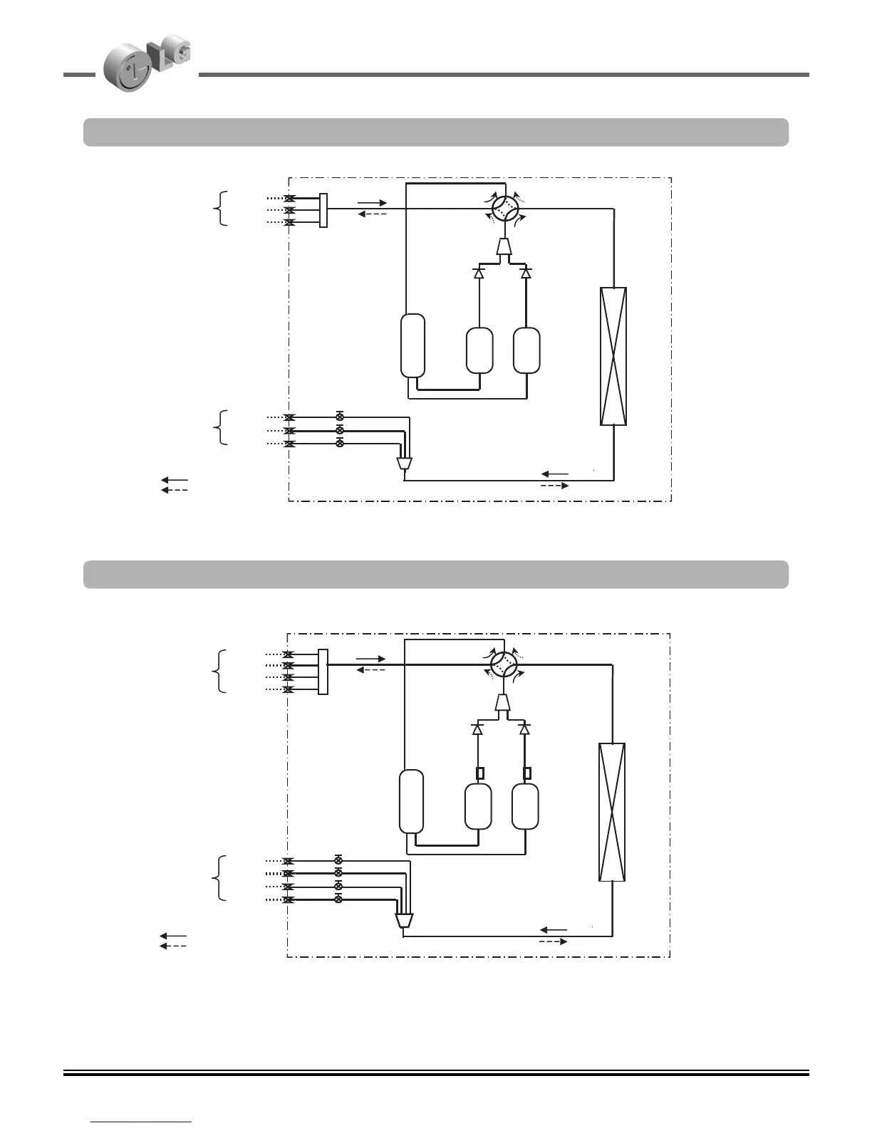
9. Piping Diagrams
Accumulator
Low
Pressure
Heat
Exchanger
Check
Valve(2)
Check
Valve(1)
Reversing
Valve
OUTDOOR UNIT
Refrigerant Flow
Cooling
Heating
LEV-A
LEV-C
Header
Room C
Room A
Field Piping
Liquid
Room A
Field Piping
Gas
Room C
Compressor A
Compressor B
Room B
LEV-B
Room B
Accumulator
Heat
Exchanger
Check
Valve(2)
Check
Valve(1)
Reversing
Valve
OUTDOOR UNIT
Refrigerant Flow
Cooling
Heating
LEV-A
LEV-C
Header
Room C
Room A
Field Piping
Liquid
Room A
Field Piping
Gas
Room C
Compressor A
Compressor B
Room B
LEV-B
Room B
Room D
LEV-D
Room D
A3UH216FA0
A4UH306FA0

Related product manuals