EasyManua.ls Logo

LG LSIL6336F - Page 18

LG LSIL6336F
172 pages
Print Icon
To Next Page IconTo Next Page
To Next Page IconTo Next Page
To Previous Page IconTo Previous Page
To Previous Page IconTo Previous Page
Loading...
18 INSTALLATION
2 Insert the power cord through the strain relief
and tighten it.
CAUTION
Do not install the power cord without a strain
relief.
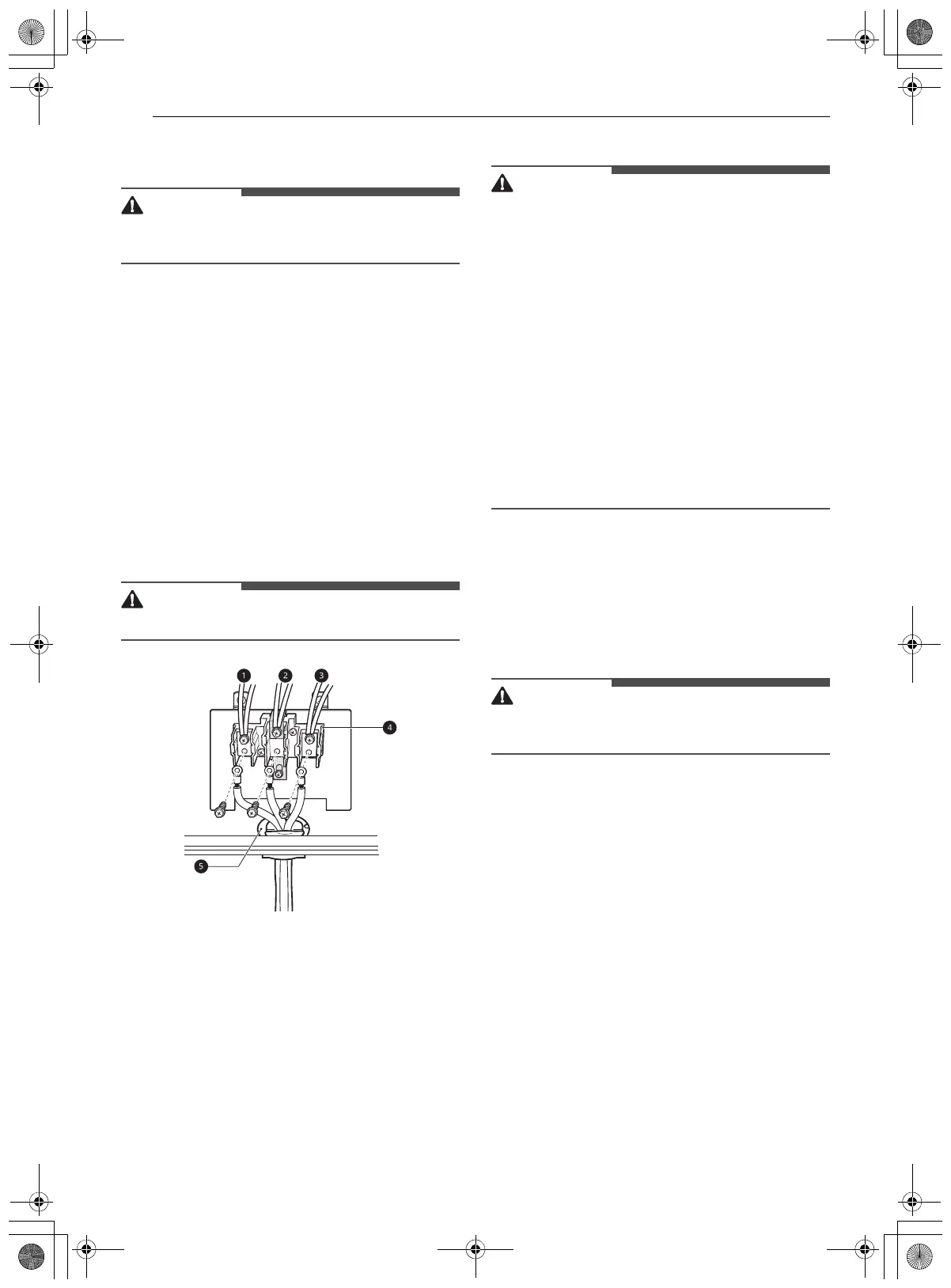
3 Remove the lower 3 screws from the terminal
block and retain them.
4 Insert the 3 screws through each power cord
terminal ring and into the lower terminals of
the terminal block.
Make sure that the white center wire is
connected to the center lower position of
the terminal block.
5 Tighten the 3 screws securely into the
terminal block.
CAUTION
Do not remove the ground strap connections.
a Black
b White
c Red
d Terminal Block
e Cord/Conduit Connection Plate
4-Wire Connection: Power Cord
WARNING
Only a 4-conductor power-supply cord kit rated
120/240 volts, 50 amperes and marked for use
with ranges with closed-loop connectors or
opened spade lugs with upturned ends must be
used. The white middle (neutral) wire of the
power cord or 4-wire conduit has to be
connected to the middle post of the main
terminal block. The other two wires of the power
cord or conduit have to be connected to the
outside posts of the main terminal connection
block. The 4th ground wire (green) must be
connected to the frame of the range with the
ground screw. Failure to do so can result in
electrical shock, severe personal injury or death.
If screws are not tightened securely, it can result
in electrical spark and severe personal injury or
death.
1 For power cord installations, hook the strain
relief over the power cord hole (1 3/8") located
below the rear of the oven.
2 Insert the power cord through the strain relief
and tighten it.
CAUTION
Do not install the power cord without a strain
relief.
3 Remove the lower 3 screws from the terminal
block and retain them.
4 Remove the ground screw and bend the end
of the ground strap up so the slot is over the
hole of the center screw removed in step 3.
5 Insert the ground screw into the power cord
ground wire (green) terminal ring and secure
it to the range frame.
6 Insert the 3 screws through each power cord
terminal ring and into the lower terminals of
the terminal block.
Make sure that the white center (neutral)
wire is connected to the center lower
position of the terminal block.
en-us_main.book.book Page 18 Thursday, February 23, 2023 8:17 AM

Table of Contents