EasyManua.ls Logo

Linertec LTS-202N - Compare Method Selection

Linertec LTS-202N
128 pages
Print Icon
To Next Page IconTo Next Page
To Next Page IconTo Next Page
To Previous Page IconTo Previous Page
To Previous Page IconTo Previous Page
Loading...
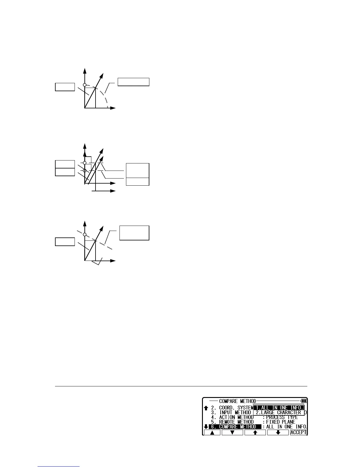
1. Cylinder face
The Remote measurement is performed on the inner
surface of the vertical cylinder as shown left.
2. Fixed plane
The Remote measurement is performed on the fixed
plane, which is perpendicular to the sight of the
reference point as shown left.
3. Rotated plane
The Remote measurement is performed on the
Rotated plane, which is always perpendicular to the
present line of sight and induces the reference point
as shown left.
5.5.6 Compare method selection
Select 6.COMPARE METHOD SELECTION and
press [ENT] to view the following screen. Press the
down arrow key to choose and press [ENT] to enter.
51
Fixed
plane
Angle
Rotated
plane
SP
Angle
SP
SP
Cylinder
Angle
Fixed
Plane
Angle
SP

Table of Contents

Related product manuals