EasyManua.ls Logo

Lortone 45C - Drive Belt Adjustment and Replacement

Default Icon
12 pages
Print Icon
To Next Page IconTo Next Page
To Next Page IconTo Next Page
To Previous Page IconTo Previous Page
To Previous Page IconTo Previous Page
Loading...
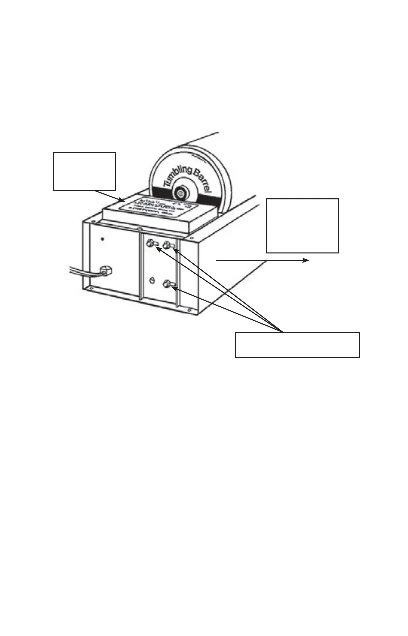
DRIVE BELT: Keep the drive belt tight enough to drive the
barrel without being over tightened. Improper tension (too tight)
can cause motor bearing failure and belt stretch. To adjust the
belt, loosen the three motor mounting nuts, slide the motor to the
right, and re-tighten the nuts.
Slide motor
to adjust
belt tension.
Motor mounting nuts
DRIVE BELT REPLACEMENT: Remove the motor top
cover and loosen the motor mounting nuts. Remove the old belt
and discard. Carefully slip the new belt over the pulleys.
Caution: Pulley edges are sharp! Replace the motor top cover
and tighten the belt guard nut.
6
Motor top
cover

Related product manuals