EasyManua.ls Logo

LS tractor G3033 - Range Gear Shift Lever; 4 WD Lever

LS tractor G3033
112 pages
Print Icon
To Next Page IconTo Next Page
To Next Page IconTo Next Page
To Previous Page IconTo Previous Page
To Previous Page IconTo Previous Page
Loading...
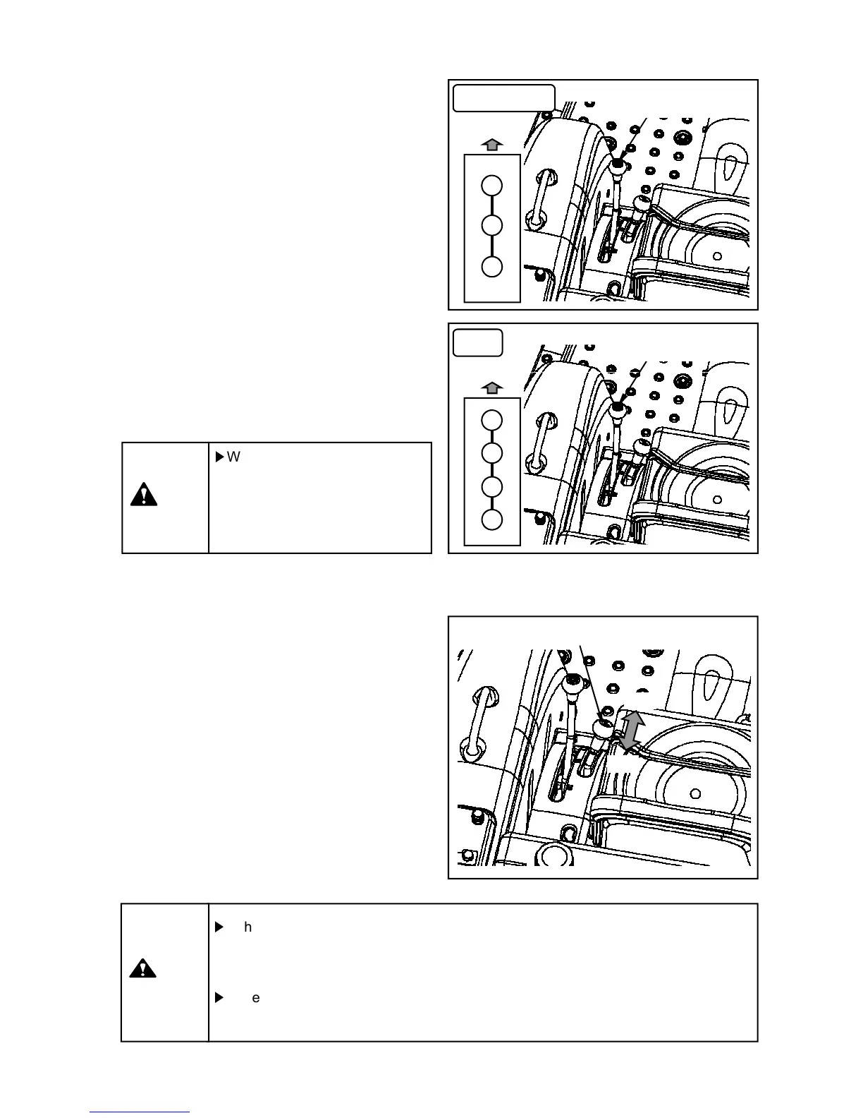
(8) Range gear shift lever
Three speed ranges are available.
Range gear shift lever must be operated after the
tractor has stopped completely.
H
HH
H
M
MM
M
L
LL
L
Range gear shift lever
Forward
Range gear shift lever
Forward
Mechanical
HST
(9) 4WD lever
If you push the lever forward, the front wheel is
driven.
Before driving front axle, depress the clutch pedal
and stop the tractor completely and then operate
the lever.
4WD lever
4WD
While stopping tractor, place
the main gear shift lever and
range gear shift lever in neutral
position to avoid unintended
start.
Caution
H
HH
H
M
MM
M
L
LL
L
Forward
N
NN
N
3
3 3
3 - 12
When driving on the road, disengage the 4WD. If not, it may cause damage of
drive line and serious accident. After working, before coming out from the field,
select 2WD.
When driving the tractor at high speed while the 4WD is engaged, sharp steering
may cause a accident.
Caution
the lever.
Front wheel drive (4WD) is effective for the
followings.
-When traction is needed for plowed ground.
-When working on slippery ground.
-When working with tiller on hard ground.
-When crossing a ridge
2WD

Table of Contents

Related product manuals