EasyManua.ls Logo

LS tractor MT225S - Drive Joint Installation; PTO Operation Precautions

LS tractor MT225S
39 pages
Print Icon
To Next Page IconTo Next Page
To Next Page IconTo Next Page
To Previous Page IconTo Previous Page
To Previous Page IconTo Previous Page
Loading...
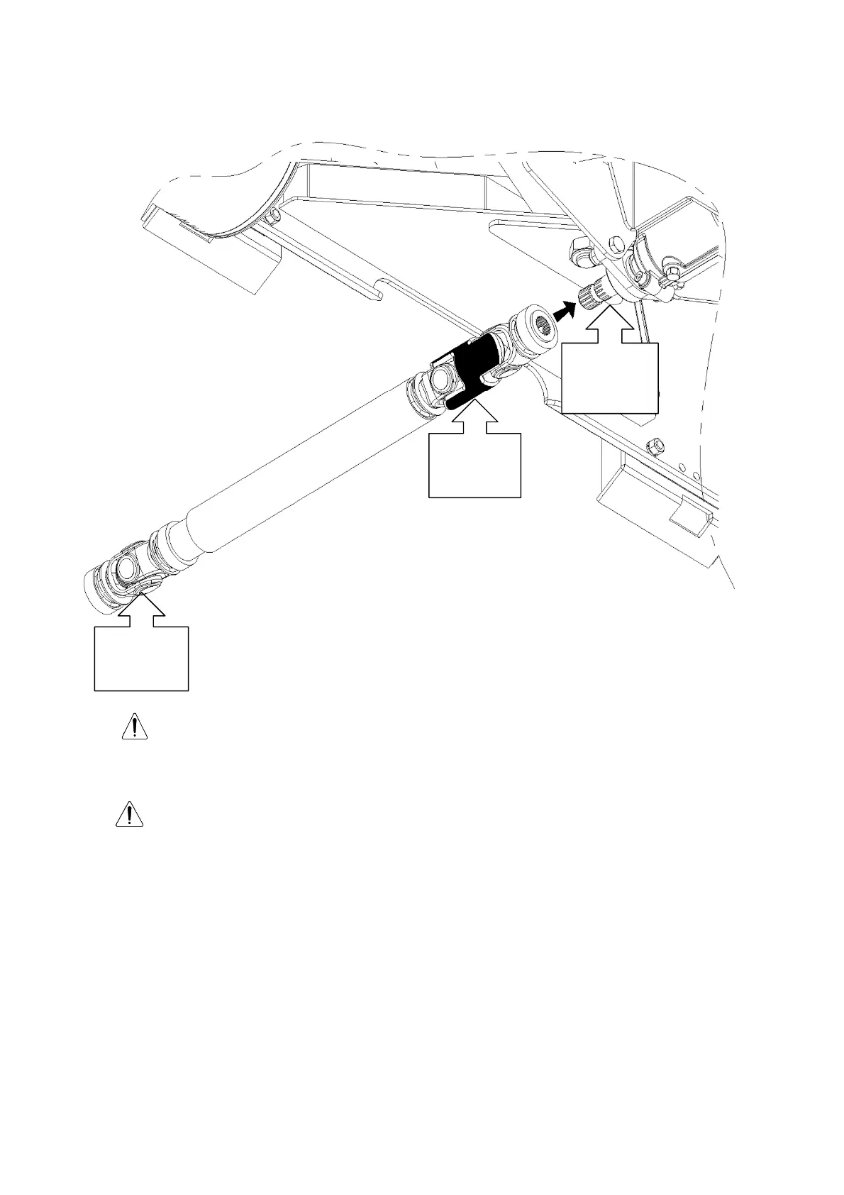
Must only assemble the double cardan joint to
the Broom gearbox spline shaft.
Precautions for PTO operation
Operate the PTO switch when the engine speed is less than 1000RPM.
If the PTO switch is operated while the engine speed is high, the universal joint
or the work machine may be damaged and damaged.
If the double cardan joint is assembled in the reverse direction, there is a risk of
joint damage and injury to people around it.
Drive joint Installation
Justonly
double
cardanjoint
Subframe
drive spline
shaft
Broom
gearbox
splineshaft
- 16 -

Related product manuals