EasyManua.ls Logo

Luna BCS 315 - Circuit Plan

Default Icon
Print Icon
To Next Page IconTo Next Page
To Next Page IconTo Next Page
To Previous Page IconTo Previous Page
To Previous Page IconTo Previous Page
Loading...
54
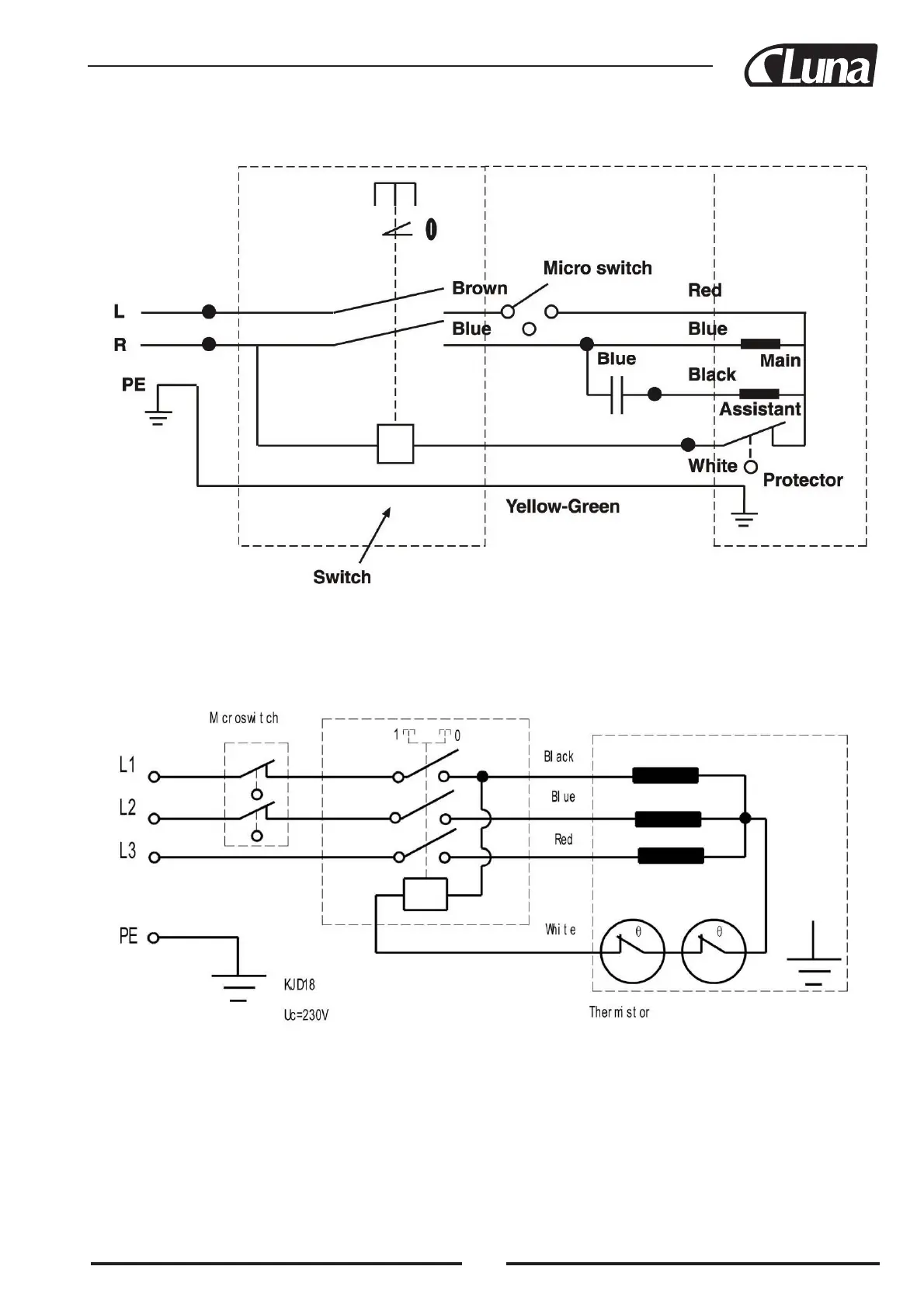
Circuit plan 230V 1-ph
Circuit plan 400V 3-ph

Related product manuals