EasyManua.ls Logo

Maeda MC285C-2 - Inverter Unit

Default Icon
207 pages
Print Icon
To Next Page IconTo Next Page
To Next Page IconTo Next Page
To Previous Page IconTo Previous Page
To Previous Page IconTo Previous Page
Loading...
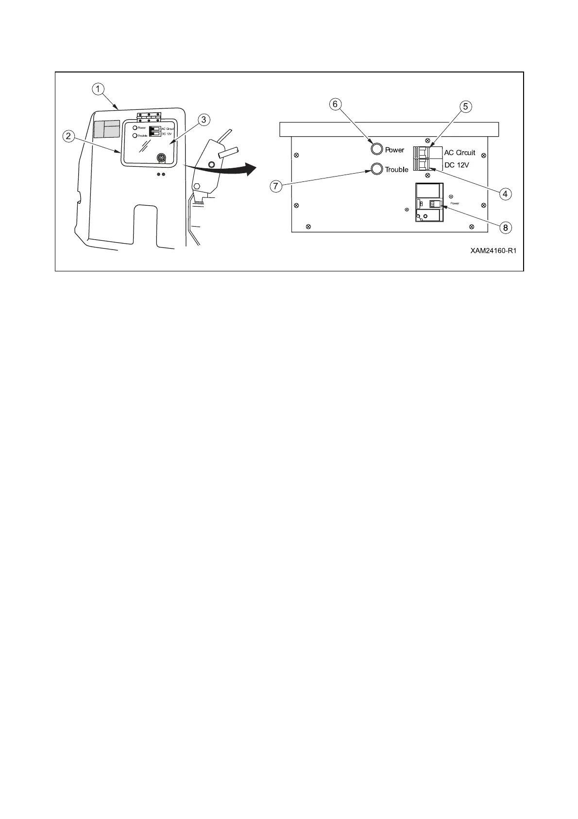
3.4 INVERTER UNIT
(1) Electric motor unit cover (5) AC circuit power switch
(2) Protective cover (6) Power lamp (white)
(3) Inverter unit (7) Trouble lamp (red)
(4) DC12V power switch (8) Main breaker (with a leak detector)
7-9
186

Related product manuals