EasyManua.ls Logo

Magnetek FLEX EX - Product View and Parts Identification; External Illustrations

Magnetek FLEX EX
120 pages
Print Icon
To Next Page IconTo Next Page
To Next Page IconTo Next Page
To Previous Page IconTo Previous Page
To Previous Page IconTo Previous Page
Loading...
Page 2
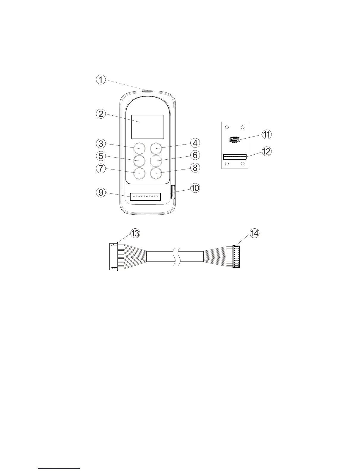
1. External Illustrations
1. Infrared sensors 8. “WRITE” button
2. LCD screen 9. Programming port
3.
” button 10. Mini USB Port (for firmware update)
4.
” button 11. I-Chip port
5. “BACK” button 12. I-Chip programming board connector
6.
” button 13. Connector to programming port
7. “READ” button 14. Connector to I-Chip programming board
(TX & RX) Programming for both transmitter and receiver
(TX) Programming for transmitter only
(RX) Programming for receiver only

Table of Contents

Related product manuals