Home
Man
Engine
D 2876 LE 403
Page 22 (Fuel System)
Man D 2876 LE 403 - Fuel System
138 pages
Manual
To Next Page
To Next Page
To Previous Page
To Previous Page
Loading...
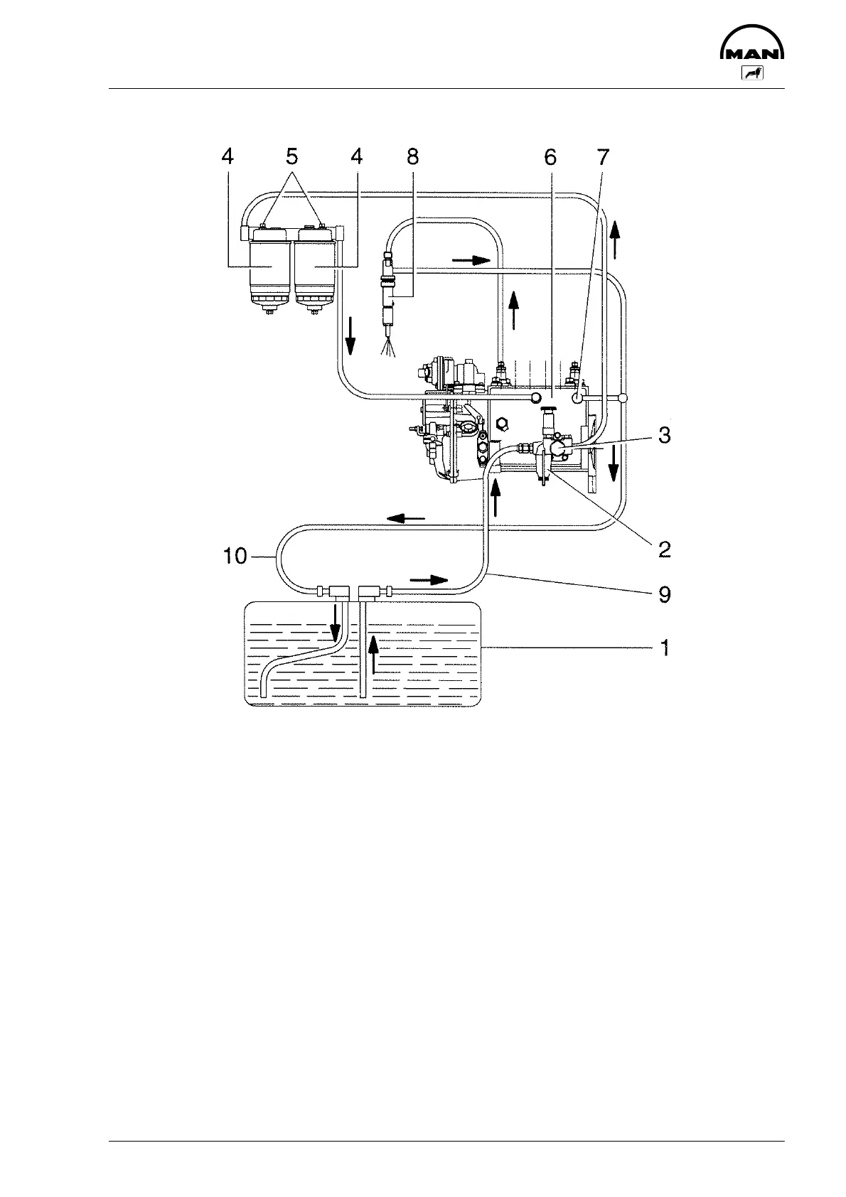
Schematic diagram of fuel system
21
1
Fuel tank
6
Fuel injection pump
2
Fuel prefilter
7
Overflow valve
3
Fuel delivery pump
8
Fuel injector
4
Fuel filter
9
Suction
pipe
5
Bleed screw
10
Return pipe
21
23
Table of Contents
Main Page
Table of Contents
3
General Information
5
Safety Instructions
6
General Information on the Overhaul of Engines
9
Trouble Shooting Table
10
Engine Views, D 2866 LE401
17
Schematic Diagram of Engine Lubrication System
21
Schematic Diagram of Fuel System
22
Schematic Diagram of Cooling System
23
Checking and Adjusting Start of Fuel Delivery
24
Removing and Installing Injection Pump
28
Removing and Installing Fuel Injectors
31
Checking and Repairing Fuel Injectors
33
Cleaning Fuel Prefilter
36
Changing Fuel Filter Cartridges
37
Draining and Filling with Coolant
38
Removing and Installing Thermostat
40
Removing and Installing Water Pump
41
Repairing Water Pump
42
Repairing Water Pump
43
Removing and Attaching Expansion Tank
46
Removing and Installing Heat Exchanger
47
Cleaning Heat Exchanger Pipe Set
49
Raw Water Pump
50
Changing Oil Filter
52
Removing and Installing Oil Cooler
53
Removing and Installing Oil Pump
54
Oil Spray Nozzle
58
Removing and Installing Vibration Damper, Changing Front Crankshaft Seal
59
Removing and Installing Flywheel, Replacing Gear Ring
63
Removing and Installing Crankshaft Seal (Flywheel End)
65
Exchanging Bearing Race
66
Crankshaft Seals
67
Removing and Installing Intake Manifold
68
Turbocharger, Trouble Shooting
71
Checking the Charge-Air Pressure
73
Removing and Installing Turbocharger
74
Checking Axial and Radial Play of Turbocharger Rotor Shaft
76
Exchanging Waste Gate
77
Removing and Installing Intercooler
78
Removing and Installing Cylinder Head
80
Setting Valve Clearance
85
Disassembling and Assembling Rocker Arms
87
Removing and Installing Valves
88
Removing and Installing Valve Guides
91
Replacing Valve Seat Insert
92
Reworking Valve Seat
94
Refacing Valves
97
Checking Compression
98
Removing and Installing Timing Case
99
Removing and Installing Camshaft, Exchanging Camshaft Bearing
100
Checking Valve Timing
102
Removing and Installing Crankshaft
103
Removing and Installing Piston with Connecting Rod
106
Detaching Piston from and Attaching to Connecting Rod
109
Checking - Changing Connecting Rod
109
Removing, Installing and Changing Piston Rings
111
Replacing Cylinder Liners
113
Measuring Piston Protrusion
116
Removing and Installing Starter
117
V-Belts
118
Coolant Level Probe
120
Special Tools
124
Special Tools
125
Index
136
Related product manuals
Man D 2876 LE 201
16 pages
Man D 2876 LE 203
16 pages
Man D 2876 LE 101
42 pages
Man D 2876 LE 301
138 pages
Man D 2876 LE 103
42 pages
Man D 2840 LE 403
70 pages
Man D 2866 LE 403
138 pages
Man D 2848 LE 403
64 pages
Man D 2876 LF
584 pages
Man D 2876 LOH
584 pages
Man D 2876 LUH
584 pages
Man D 2866 LE 401
138 pages