EasyManua.ls Logo

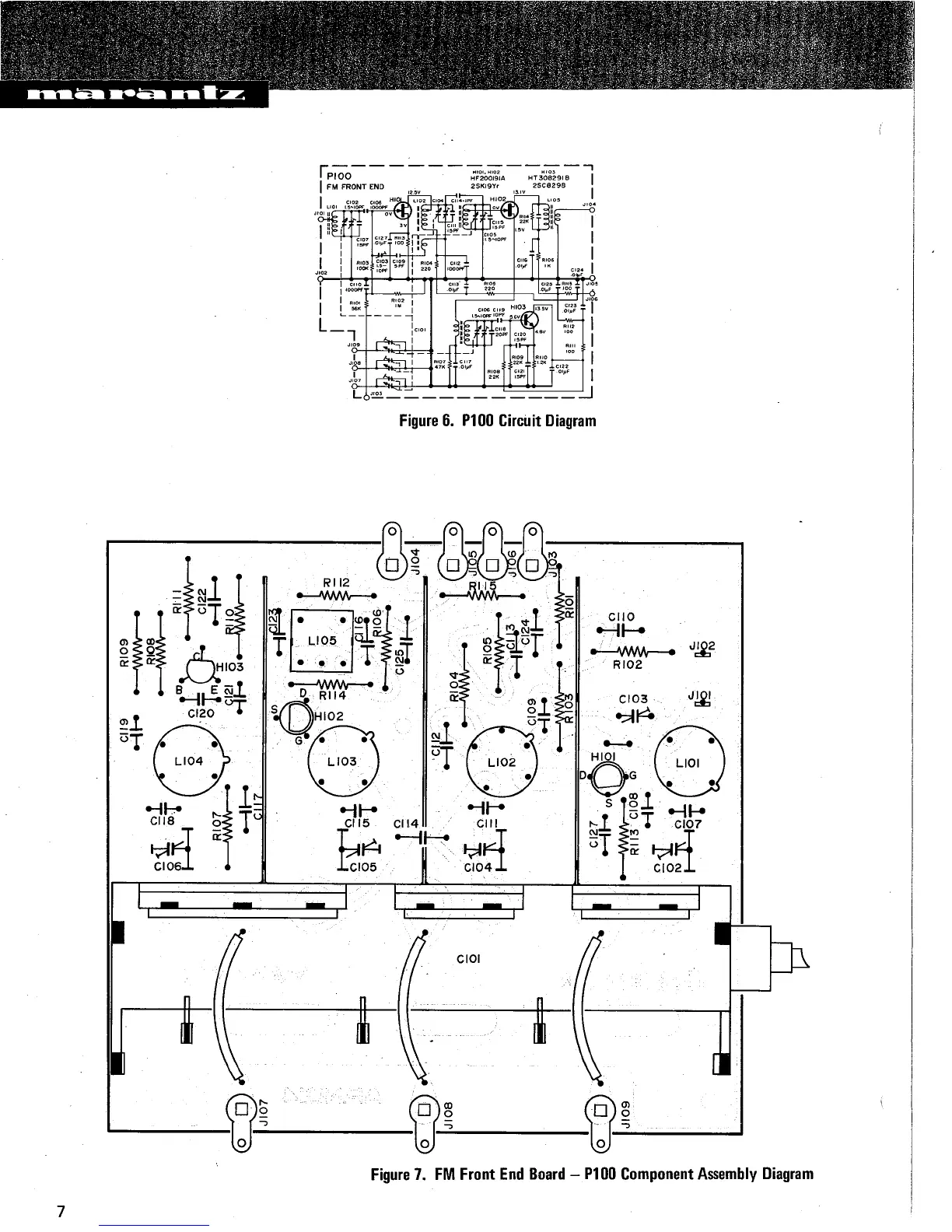
Marantz 2235 - P100 Circuit Diagram; FM Front End Board

Marantz 2235
44 pages
Print Icon
To Next Page IconTo Next Page
To Next Page IconTo Next Page
To Previous Page IconTo Previous Page
To Previous Page IconTo Previous Page
Loading...

Related product manuals