EasyManua.ls Logo

Marantz DV7001 - Page 73

Marantz DV7001
93 pages
Print Icon
To Next Page IconTo Next Page
To Next Page IconTo Next Page
To Previous Page IconTo Previous Page
To Previous Page IconTo Previous Page
Loading...
99
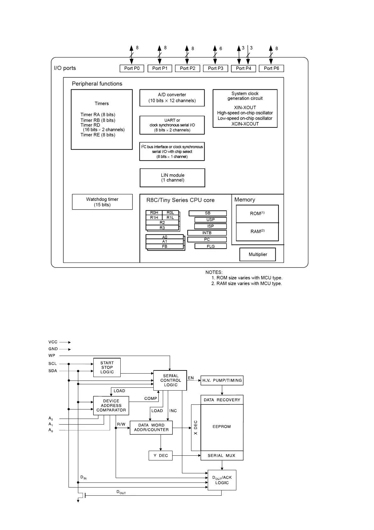
QF03 : AT24C04
QF01 : R5F21246SNFP

Other manuals for Marantz DV7001

Related product manuals