EasyManua.ls Logo

MARLO NXT2 Series - Brine Tank Installation

Default Icon
52 pages
Print Icon
To Next Page IconTo Next Page
To Next Page IconTo Next Page
To Previous Page IconTo Previous Page
To Previous Page IconTo Previous Page
Loading...
8
MGT 2” 60M–600M NXT2 TWIN ALTERNATING
INSTALLATION
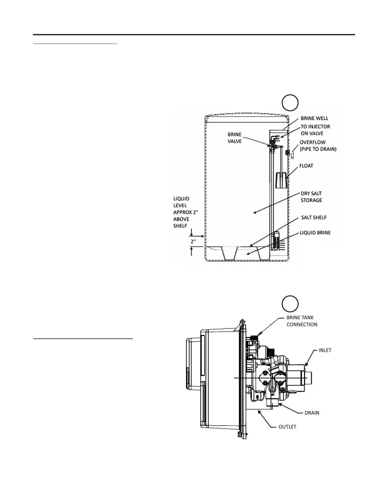
BRINE TANK INSTALLATION
The brine tank should be installed on a smooth level surface. If none is available, the tank should be
placed on a smooth piece of exterior plywood and leveled by placing shims underneath the plywood.
Make sure that the salt shelf inside the tank is level and that the brine well is near to vertical as possible.
The brine valve oat is used as a safety overow and should be high on the oat rod. It is not used to stop
the rell. If the oat is near the salt shelf, move the oat up near the top of the valve.
Note: Brine valve assembly will not sit on
bottom of brine tank.
Using the tubing supplied in the brine tank,
connect one end to the brine valve in the
brine tank (“A”) to the brine injector port on
the valve (“B”). There should be an insert
and enough brine tubing to reach from the
brine valve to the control valve. For systems
that use a 1600 brine valve, the tubing will
be 3/8” OD. For systems that use the 1700
brine valve, the tubing will be 1/2” OD. 18
feet of tubing is included with the system.
A duplex system also includes a tubing tee
for connection from the brine tank to both
control valves.
After connecting the tubing on both ends,
verify that the brine line tubing is not kinked
or restricted.
Run exible tubing (not provided) from the
brine tanks over ow tting to an
appropriate, non-elevated, open drain.
Using a bucket or hose, ll brine tank with
water to about 2” above salt platform. Do not
add salt at this time.
Note:: In the process of making brine for
the rst regeneration, the solution volume
will increase (one gallon of water will be 1.2
gallons of brine). The nal level of the liquid
will be several inches above the platform.
RECOMMENDED TYPES OF SALT
Only puried salt should be used in the brining
system. Palletized salt (“Button”, “Nugget”, and
“Pellet”) or block salt (free binders) is recom-
mended. Do not use granulated salt, as it will fall
through the platform screen.
Rock salt is not normally recommended. Most
rock salt contains sludge-forming insoluble that
collect on the platform and prevents proper
salt-water contact.
Only salt containing 0.5% or less of insolubles
will provide continued satisfactory operation.
If salt with more insolubles is used, the brine
maker will require periodic cleaning.
B
2 - TOP VIEW OF CONTROL VALVE
1 - BRINE SYSTEM
B
A

Related product manuals