EasyManua.ls Logo

MasterCraft 54-4790-6

MasterCraft 54-4790-6
39 pages
To Next Page IconTo Next Page
To Next Page IconTo Next Page
To Previous Page IconTo Previous Page
To Previous Page IconTo Previous Page
Loading...
20
CONNECTING THE FLEXIBLE SHAFT TO THE
TOOL cont’d
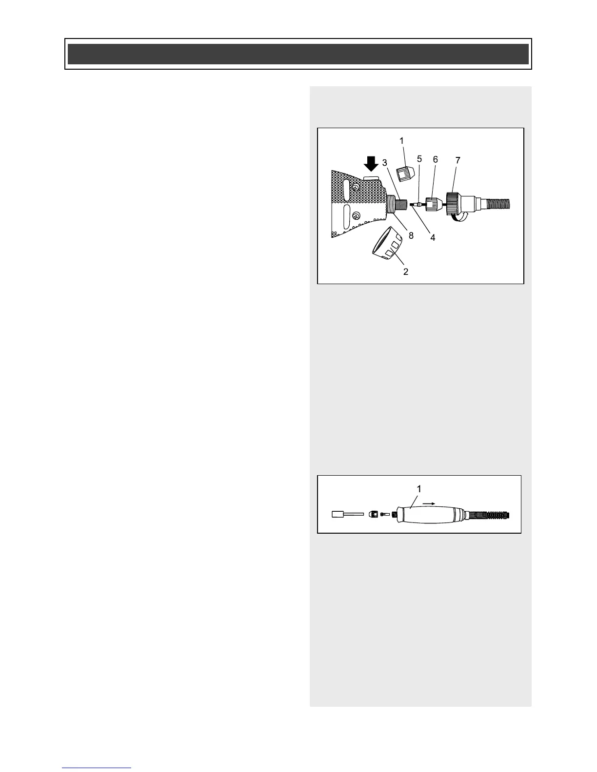
1. Remove the collet nut (1) and the
spindle nut (2) from the tool by turning
them counter-clockwise (Fig. 3).
2. Remove the collet from motor shaft (3).
3. Insert the the inner cable of the flexible
shaft (4) into the motor shaft until the
stopper (5) comes into contact with the
motor shaft.
4. Thread the flexible shaft collet nut (6)
onto the motor shaft by turning it
clockwise. Tighten it using the collet
wrench.
5. Thread the flexible shaft nut (7) onto the
tool housing (8) by turning it clockwise.
NOTE: Tighten the flexible shaft nut by
hand only. Do not use pliers or a wrench.
CHANGING THE COLLET AND
ACCESSORIES IN THE FLEXIBLE
SHAFT
In order to change the collet or to install an
accessory in the flexible shaft, follow the
steps listed in the sections entitled
“Changing the collet” and “Installing
accessories”. In order to lock the shaft in
place, pull back on the flexible shaft grip
(1) and rotate the collet until the shaft grip
locks the shaft in place (Fig. 4). The
flexible shaft grip will return to its normal
position when it is not being held in the
locked position.
NOTES:
a) Do not attempt to loosen or tighten the
collet without locking the shaft in place as
described above. Doing so will damage the
flexible shaft.
b) Do not over-tighten the collet nut.
ASSEMBLY AND OPERATING INSTRUCTIONS
Fig. 4
Fig. 3

Related product manuals